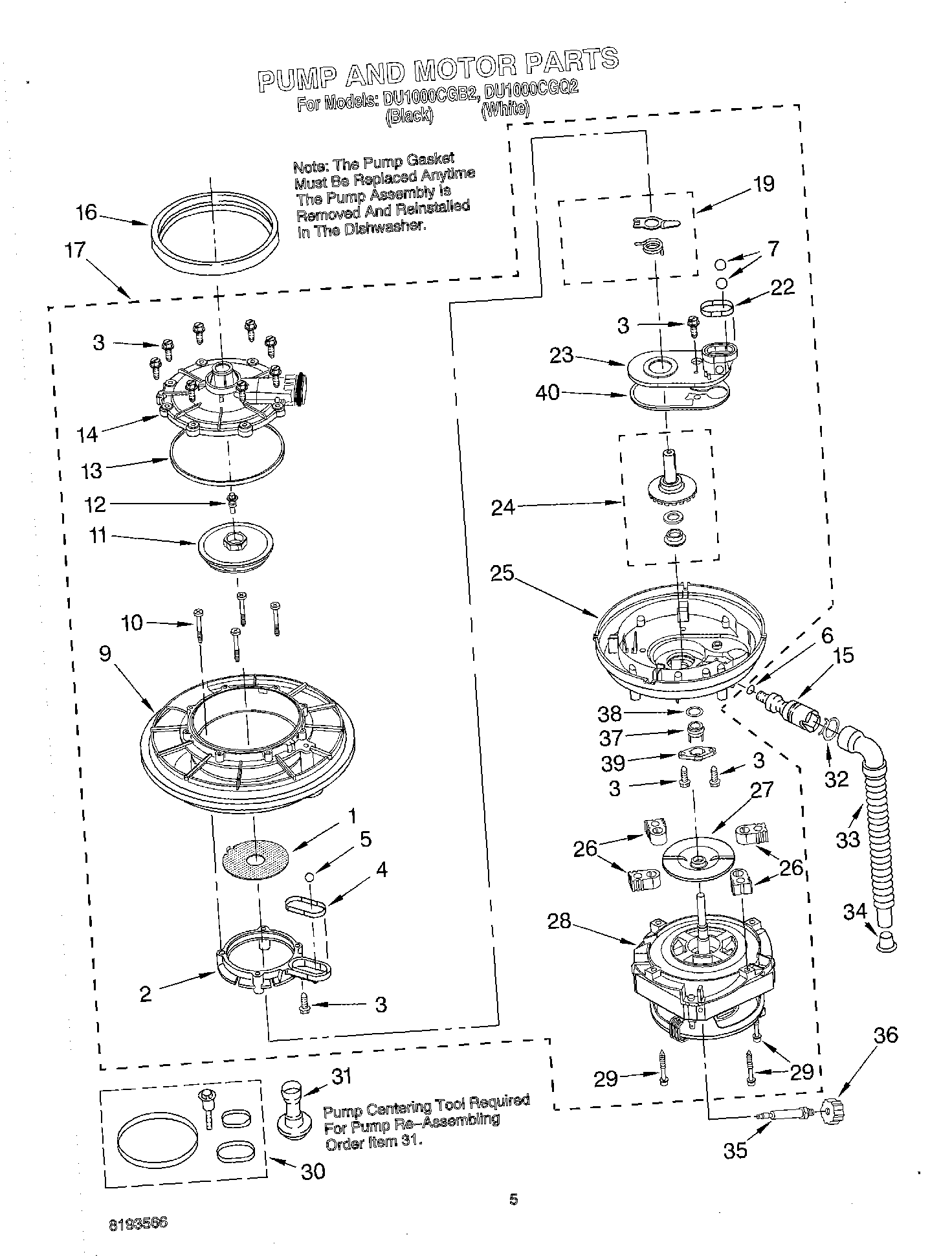
DU1000CGB2 04 – PUMP AND MOTOR