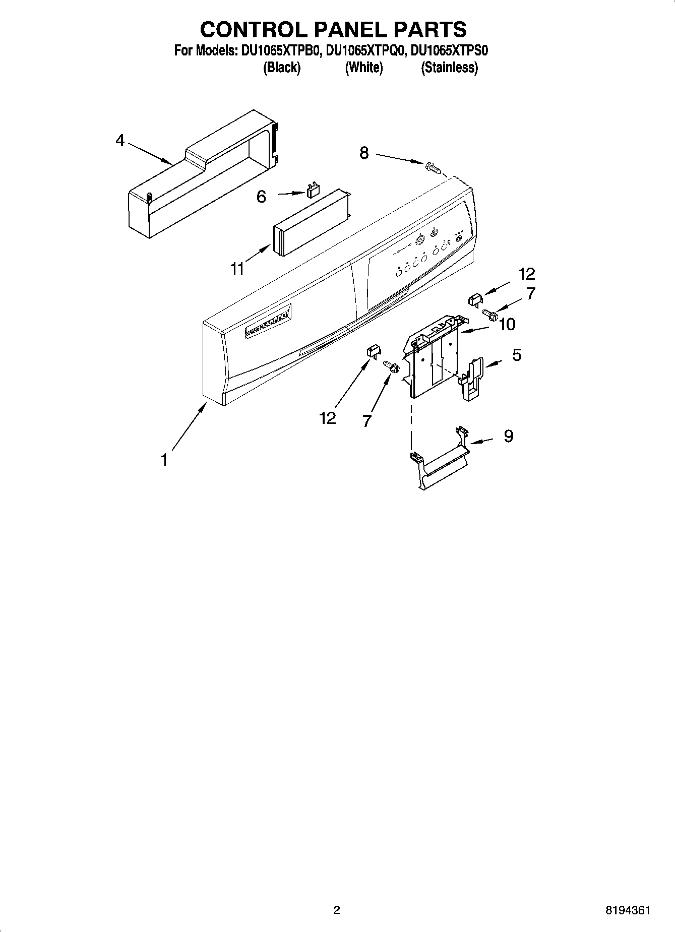
DU1065XTPS0 02 – CONTROL PANEL PARTS