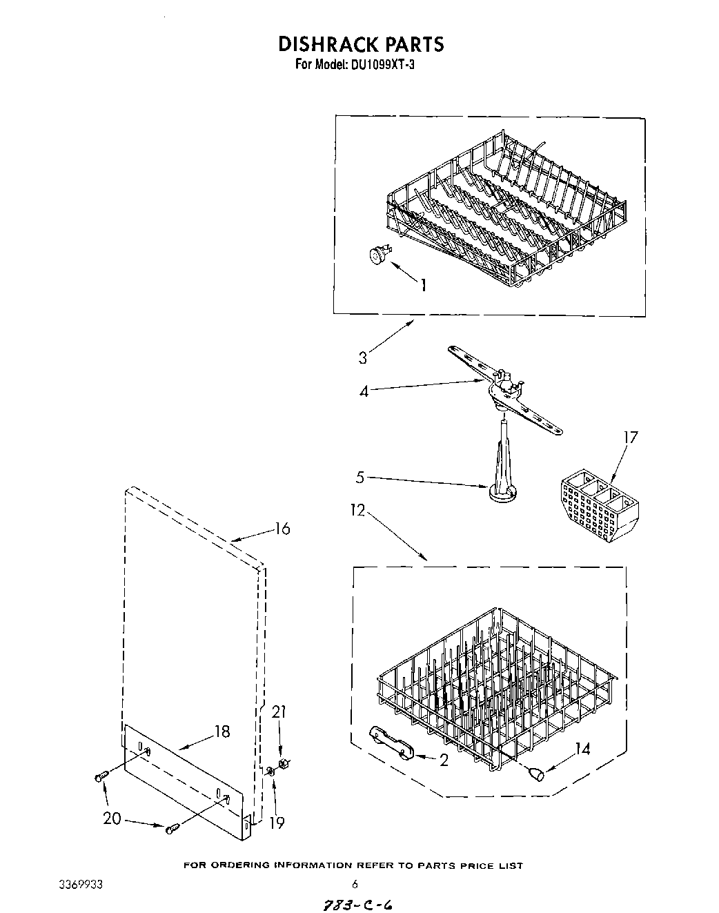
DU1099XT3 04 – DISHRACK