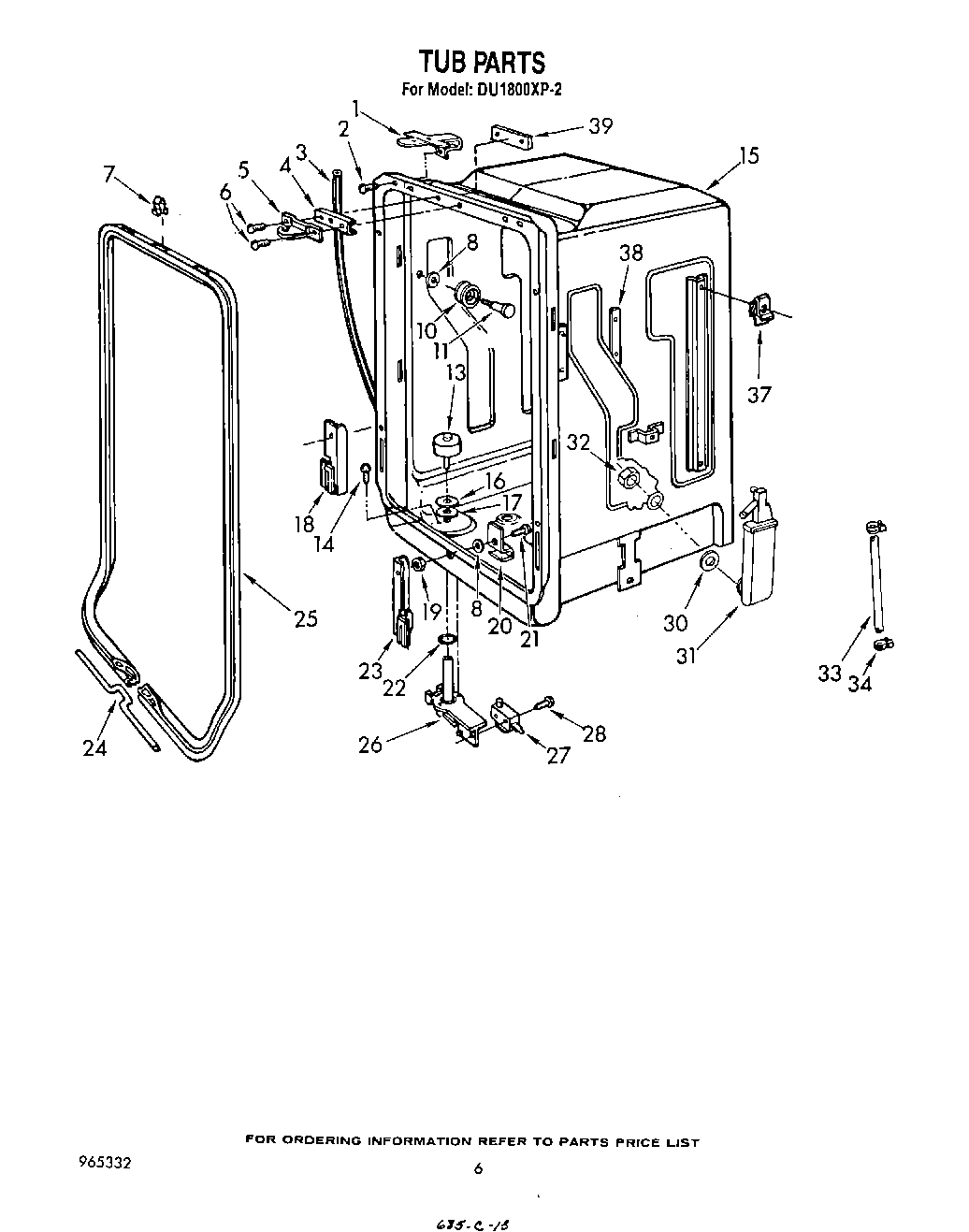
DU1800XP2 05 – TUB