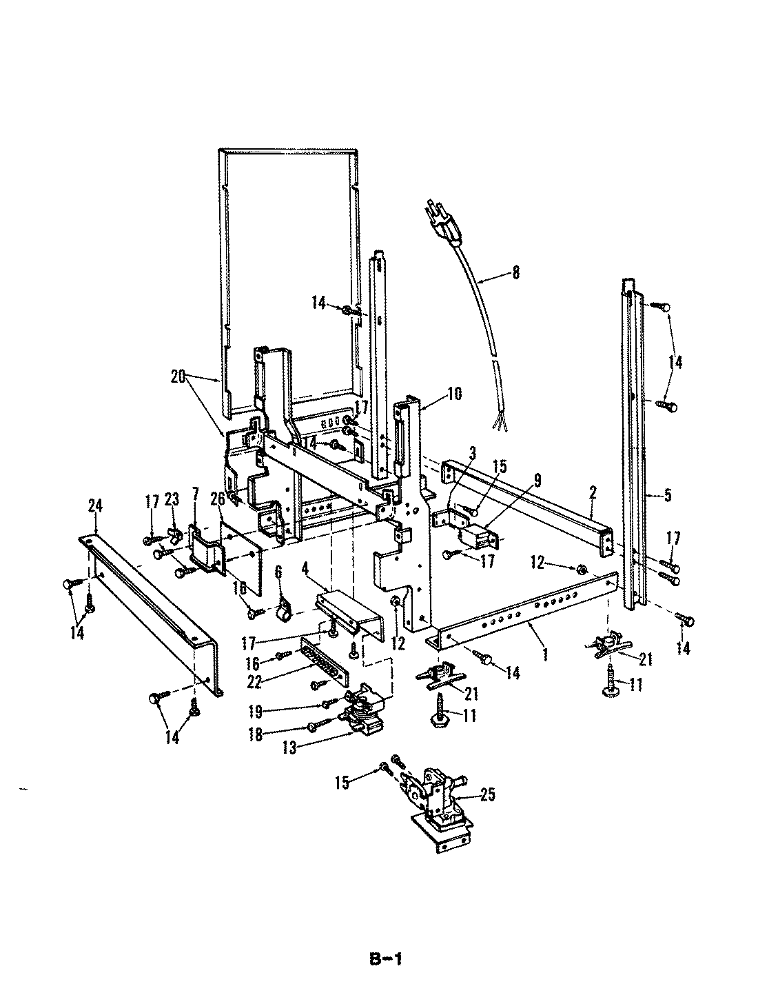
DU18H4 04 – FRAME PARTSadmin2025-04-26T09:36:39+00:00DU18H4 04 – FRAME PARTS ProductsPositionProduct1BASE ANGLE2MAY 8075663BRACKET4MAY 8078495MAY 8086706WIRE CLAMP7CLAMP8MAY 8083959TERMINAL COVER10MAY 80821211MAY 80767212MAY 80461913RELAY14SCREW15MAY 80795016MAY 80750117MAY 80865818MAY 80467219MAY 80659320SIDE PANEL21TEENUT22MAY 80748623GROUND TERMINAL24TOE PLATE25WTR INLET VALVE