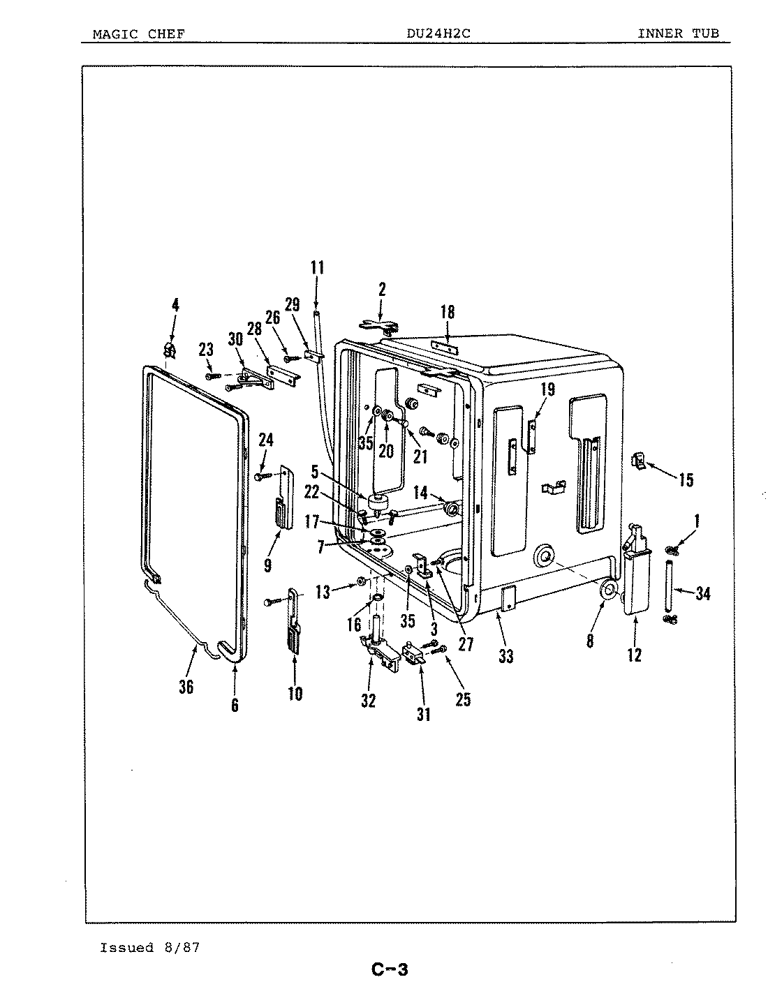
DU24H2C 06 – INNER TUB