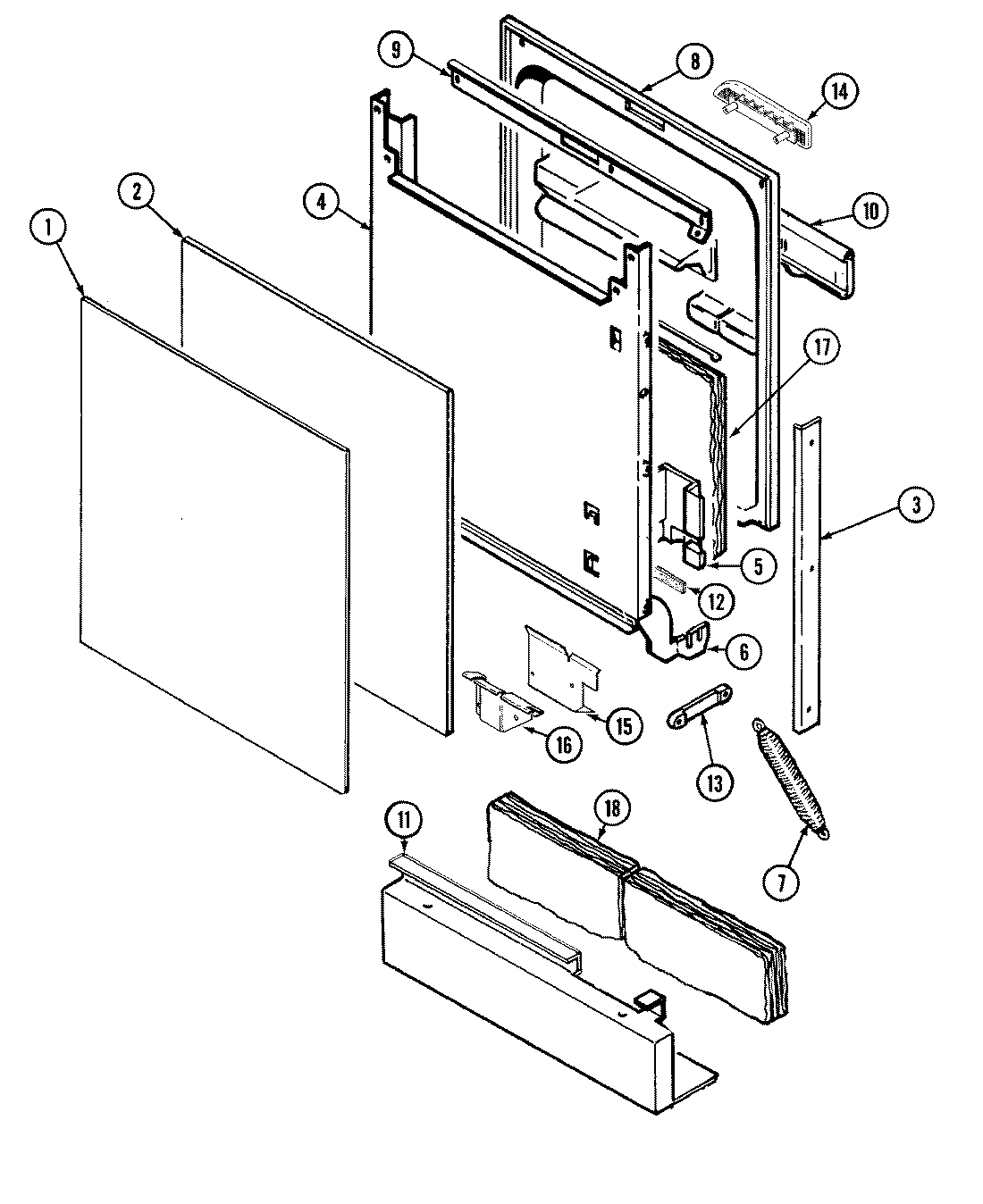
DU4500V 01 – DOOR