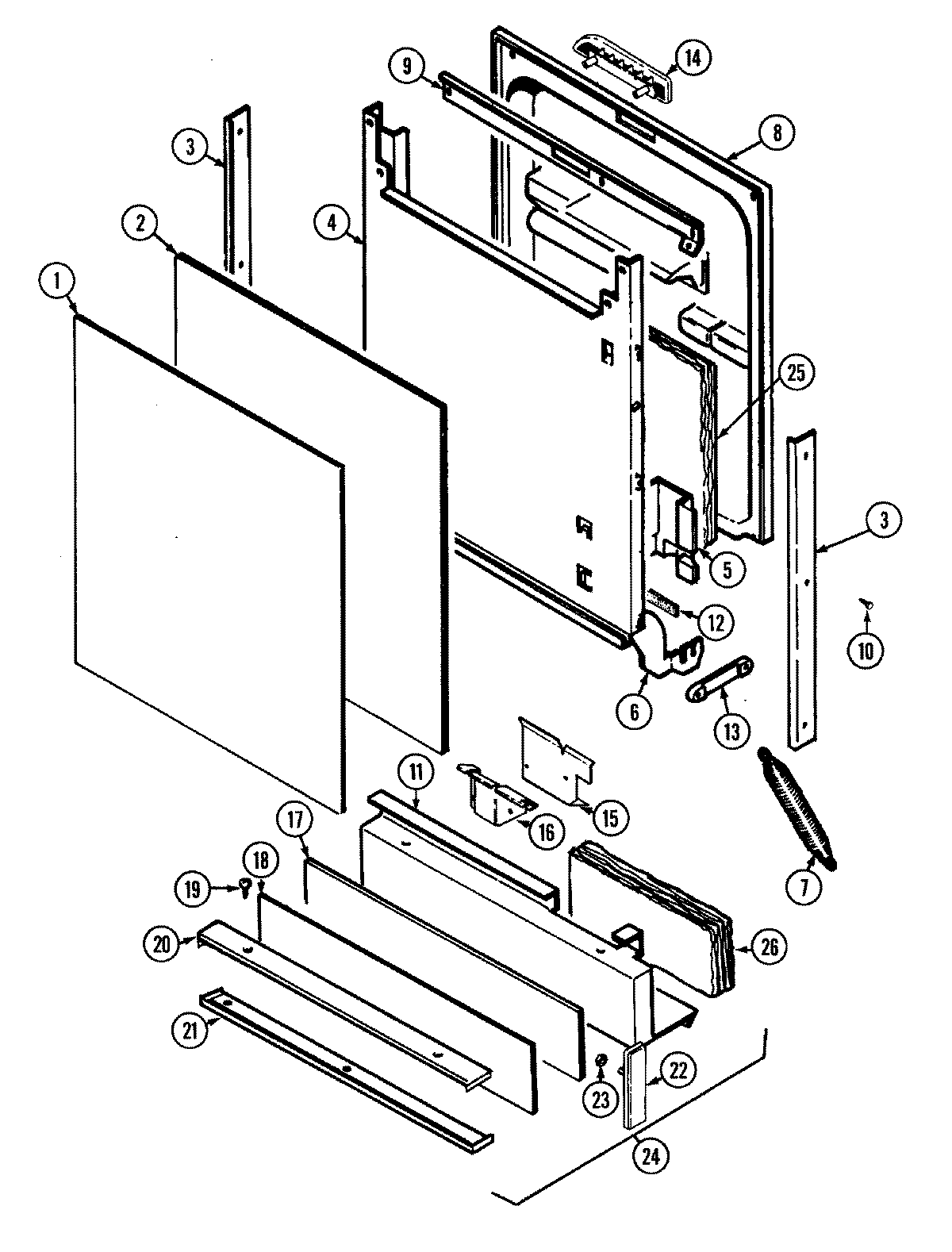
DU4J 02 – DOOR