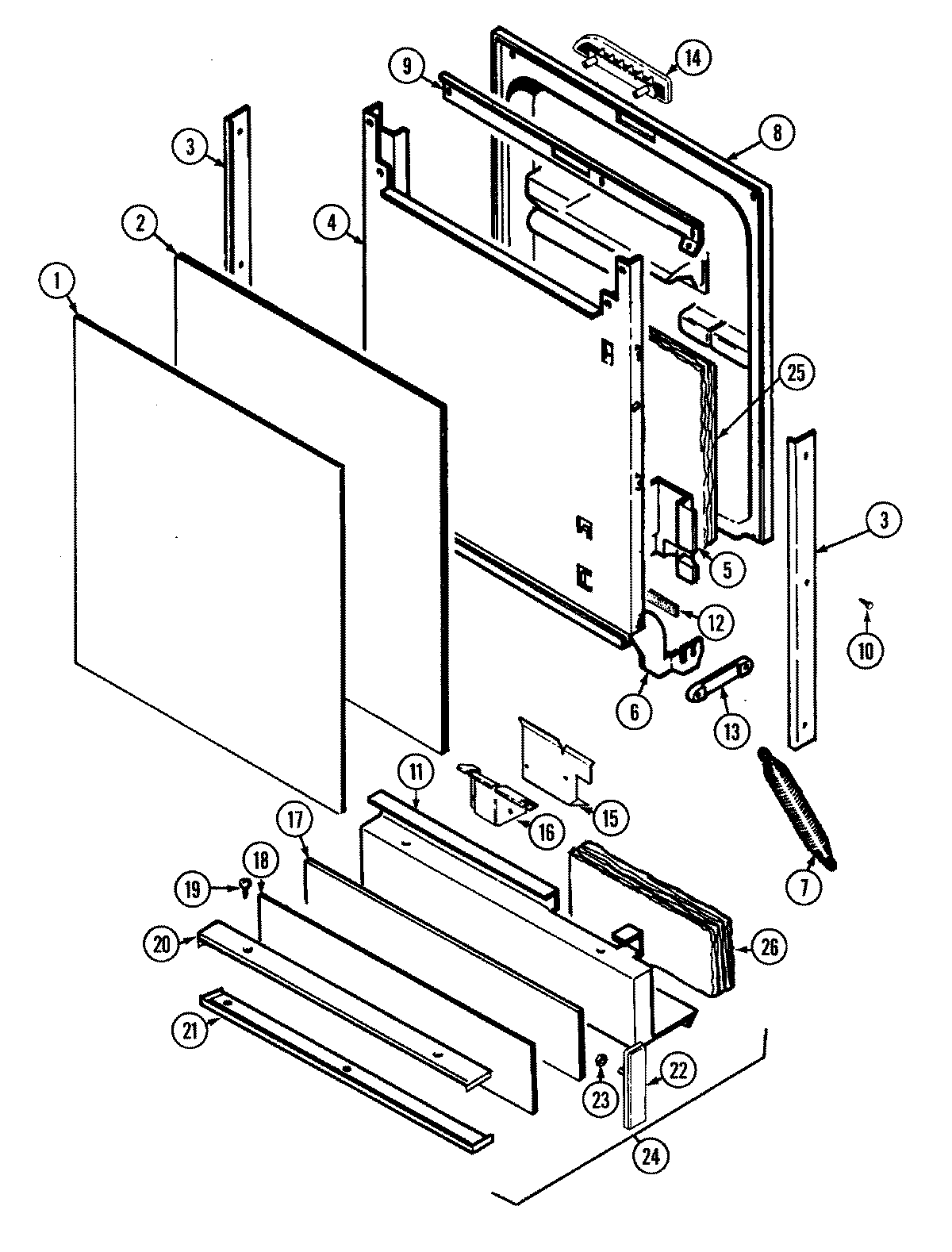
DU4KV-CAN 01 – DOOR