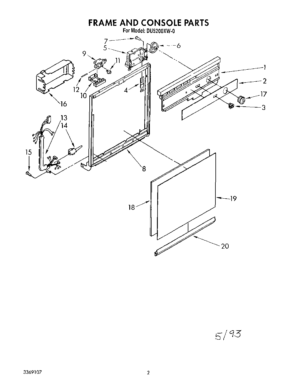
DU5200XW0 01 – FRAME AND CONSOLEadmin2025-04-26T11:05:03+00:00DU5200XW0 01 – FRAME AND CONSOLE ProductsPositionProduct1Console (Also Order Key 2) (Black)2Insert, Console3WP4314961 Whirlpool Lite Switch4Follower, Cam5Timer6Cam7WP304231 Whirlpool Dishwasher Screw8Door Frame9WP3380854 Whirlpool Door Latch Bolt10WP3368954 Whirlpool Dishwasher Lever11Switch, (2)12Pin, Switch (2)13Harness and Protector143376405 Whirlpool Dishwasher Elbow15WP488234 Whirlpool Air Conditioner Screw16Cover, Timer17Knob, Timer18Spacer, Corrugated19WP3369769 Whirlpool Dishwasher Panel19Front Panel (Almond/White)20Retainer, Panel