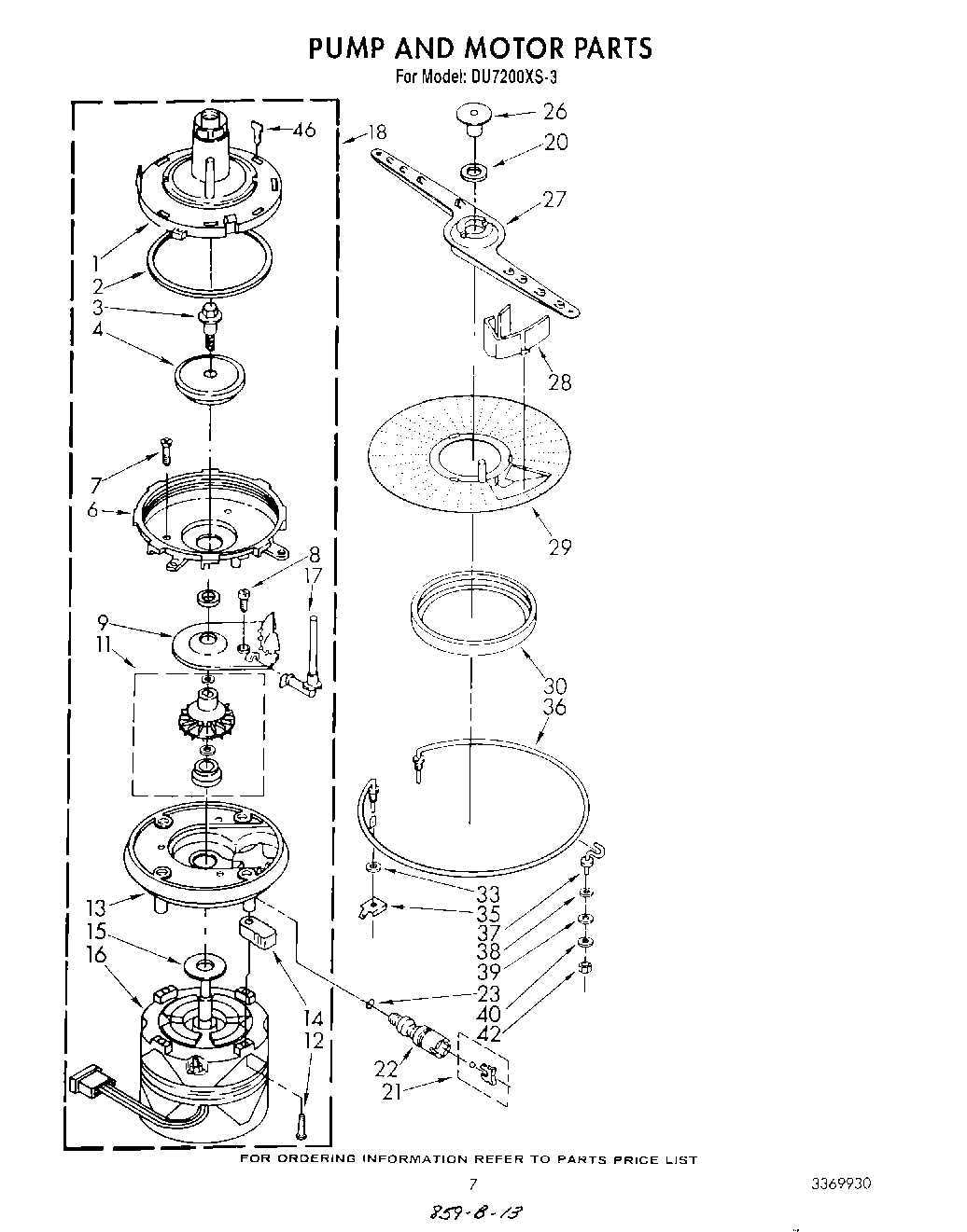
DU7200XS3 05 – PUMP AND MOTORadmin2025-04-26T11:07:02+00:00DU7200XS3 05 – PUMP AND MOTOR
Products
| Position | Product |
|---|
| 1 | Pump Housing, Upper |
| 2 | Seal, Ring |
| 3 | WP3371152 Whirlpool Dishwasher Screw |
| 4 | Impeller |
| 6 | Pump Housing, Lower |
| 7 | 718257 Whirlpool Dishwasher Screw |
| 8 | WP9741232 Whirlpool Dishwasher Screw |
| 9 | Coverplate |
| 11 | Kit, Drain Impeller |
| 12 | Screw (4) |
| 13 | Base, Pump |
| 14 | WP3367197 Whirlpool Dishwasher Support |
| 15 | W10909679 Whirlpool Dishwasher Slinger |
| 16 | Motor |
| 17 | Bleeder Assembly |
| 18 | Pump & Motor Assembly |
| 20 | WP719576 Whirlpool Dishwasher Bearing |
| 21 | Check Ball & Retainer |
| 22 | 675238 Whirlpool Check Valve |
| 23 | ``O`` Ring |
| 26 | Cap, Nozzle |
| 27 | Spray Arm, Lower |
| 28 | Guard, Screen |
| 29 | Screen, Sump |
| 30 | 717000 Whirlpool Dishwasher Gasket |
| 33 | WP717273 Whirlpool Dishwasher Rubber Washer |
| 35 | Nut, Heater Element |
| 36 | Heater |
| 37 | Support, Heater (2) |
| 38 | Washer, Retainer (2) |
| 39 | Washer (2) |
| 40 | Washer (2) |
| 42 | Nut, Hex |
| 46 | Key, Pump Housing |