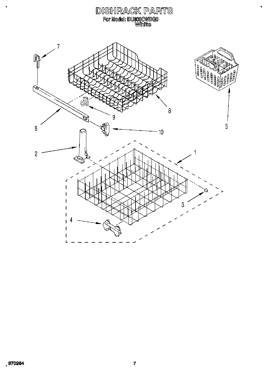
| 1 | W10161215 Whirlpool Dishwasher Dishrack |
| 2 | WP8268825 Whirlpool Dishwasher Protector |
| 3 | WP3385142 Whirlpool Dishwasher Bumper |
| 4 | WP3376961 Whirlpool Dishwasher Wheel |
| 5 | Basket, Silverware |
| 6 | Track, Rack |
| 7 | Stop, Track (2) |
| 8 | W11169039 Whirlpool Dishwasher Dish Rack |
| 9 | Wheel & Axle Assembly (4) |
| 10 | Endcap, Front or Rear (2) |