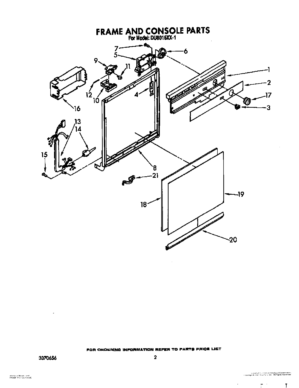
DU8016XX1 02 – FRAME AND CONSOLEadmin2025-04-26T11:05:18+00:00DU8016XX1 02 – FRAME AND CONSOLE ProductsPositionProduct1Console (Also Order Key 2) (Black)2Insert, Console3WP4314961 Whirlpool Lite Switch4Follower, Cam5Timer6Cam7WP304231 Whirlpool Dishwasher Screw8Door Frame9WP3380854 Whirlpool Door Latch Bolt10WP3368954 Whirlpool Dishwasher Lever11Shield, Switch12Pin, Switch (2)13Harness and Protector (Includes Item 14)143376405 Whirlpool Dishwasher Elbow15WP488234 Whirlpool Air Conditioner Screw16Cover, Timer17Knob, Timer18Spacer, Corrugated19WP3369769 Whirlpool Dishwasher Panel19Front Panel20Retainer, Panel218528351 Whirlpool Clip