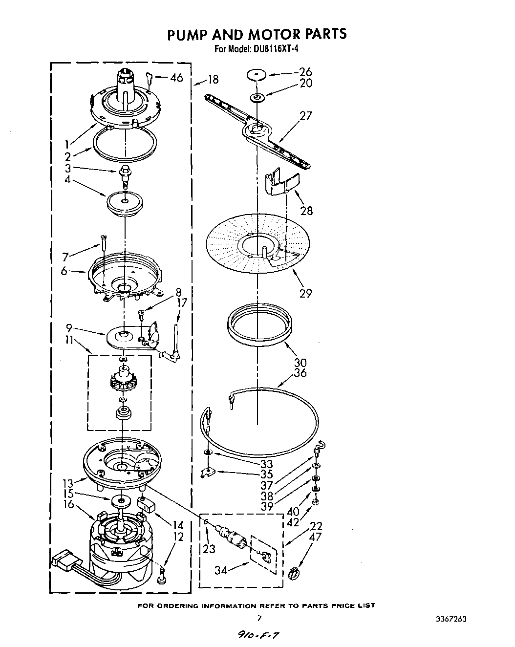
DU8116XT4 05 – PUMP AND MOTOR