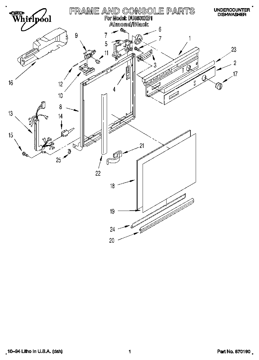
DU8500XB1 01 – FRAME AND CONSOLE