DU8550XT0 02 – TUB , LIT/OPTIONALadmin2025-04-26T11:51:42+00:00DU8550XT0 02 – TUB , LIT/OPTIONAL
Products
| Position | Product |
|---|
| Literature Parts (Do-It-Yourself Manual 07-03 Litho In U.S.A. (bd)) |
| WPL LIT677971 |
| WPL LIT677967 |
| Instructions, Installation (Supplement) (Locating Your Water Supply) |
| Washer (Belt Drive) |
| WPL LIT3367780 |
| WPL LIT3367228 |
| Dryer |
| WPL LIT3368594 |
| WPL LIT3368561 |
| WPL LIT3368026 |
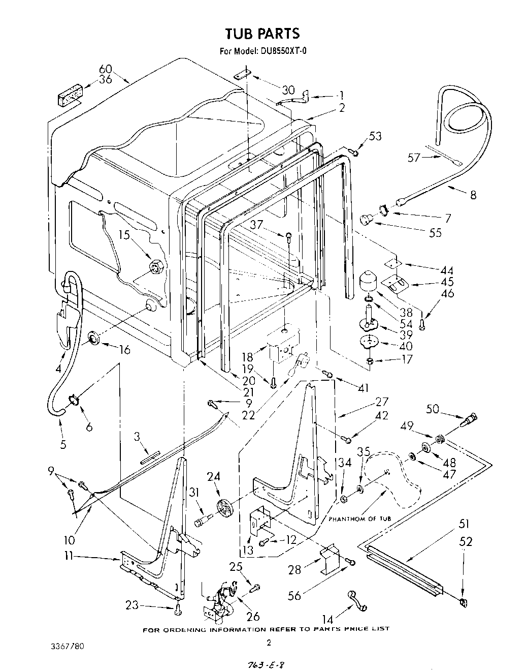
| 1 | Bracket, Mounting (2) |
| 2 | tub assembly |
| 3 | Edge Protector |
| 4 | Inlet, Water |
| 5 | Hose, Inlet |
| 6 | WP596669 Whirlpool Hose Clamp |
| 7 | WP356138 Whirlpool Hose Clamp |
| 8 | 675544 Whirlpool Drain Hose |
| 9 | WP302868 Whirlpool Screw |
| 10 | Brace |
| 11 | Leg & Hinge Assembly, L.H. |
| 12 | Screw, 8-32 x 3/8 Hex Washer Head Slotted Tapping Ground (1) |
| 13 | Box, Terminal |
| 14 | Relief, Strain |
| 15 | Nut, 7/18-16 |
| 16 | Gasket |
| 17 | Nut |
| 18 | Bracket, Overflow Switch |
| 19 | Screw, 8 x 1/2 (3) |
| 20 | Gasket |
| 21 | Retainer, Gasket |
| 22 | Switch, Pressure |
| 22 | Switch, Pressure (Alternate) |
| 22 | Switch, Pressure (Alternate) |
| 22 | Retainer-Main Top (2 Required) |
| 23 | 8193716 Whirlpool Leveling Leg |
| 24 | WP302819 Whirlpool Dishwasher Wheel |
| 26 | Valve, Water Inlet (Alternate) |
| 26 | Valve, Water Inlet (Alternate) |
| 26 | Valve, Water Inlet |
| 27 | Leg & Hinge Assembly, R.H. |
| 28 | 300068 Whirlpool Dishwasher Cover Assembly |
| 30 | Nut, Twin Spring |
| 31 | Screw, Shoulder |
| 34 | Nut, Lock |
| 35 | Washer (8) |
| 36 | Block, Foam (2) |
| 37 | WP488729 Whirlpool Refrigerator Door Screw |
| 38 | Float |
| 39 | Standpipe, Overflow |
| 40 | Gasket, Overflow |
| 41 | Screw, 4-40 x 3/4 |
| 44 | Shim |
| 45 | Strike |
| 46 | WP308685 Whirlpool Microwave Screw |
| 47 | Washer (8) |
| 48 | Washer, Cup |
| 49 | Roller, Rack Track |
| 50 | Screw, Shoulder (8) |
| 51 | Track (2) |
| 52 | Endcap, Front or Rear (2) |
| 53 | Screw, 8-18 x 5/8 (10) |
| 54 | Gasket, Standpipe (2) |
| 55 | WPL 301656 |
| 56 | WP90767 Whirlpool Screw |
| 57 | WPW10144763 Whirlpool Tie Wire |
| 60 | Kit, Epoxy Patch (White) |
| 60 | Enamel, New Avocado (1 Qt. Uncut) |
| 60 | Enamel, Coffee (1 Qt. Uncut) |
| 60 | Platinum (Uncut) |
| 60 | 285006 Whirlpool Spray |
| 60 | Leveler (Thinner) |
| 60 | WP72107 Whirlpool Touchup |
| 60 | 799344 Whirlpool Refrigerator Paint |
| 60 | 350930 Whirlpool White Spray Paint |
| 60 | 72017 Whirlpool Appliance Touch-Up Paint White |
| 60 | 350956 Whirlpool Spray Assembly |
| 60 | Enamal, Toast (1 Qt. Uncut) |
| 60 | Paint, Spray (13 Oz.) (Platinum) |
| 60 | Tine Tip Repair Kit (Blue-Enough For Two Complete Dishracks) |
| 60 | 72110 Whirlpool Dryer Touch-Up Paint, Golden Harvest 6 Oz |
| 60 | Vinyl Touch Up (Blue) |
| 60 | Golden Harvest (Uncut) |
| 60 | WPL 72112 |
| 60 | Toast |
| 60 | W11086533 Whirlpool Dishwasher Shield |
| 60 | Golden Harvest |
| 60 | 72113 Whirlpool Touch-Up Paint |
| 60 | Almond (Uncut) |
| 60 | 350942 Whirlpool Spray Paint |