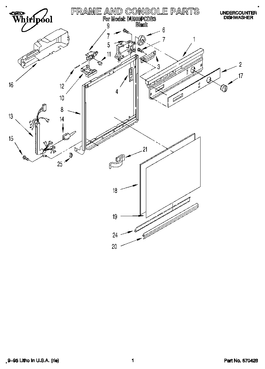
DU900PCDB3 01 – FRAME AND CONSOLEadmin2025-04-26T11:51:53+00:00DU900PCDB3 01 – FRAME AND CONSOLE ProductsPositionProduct1Console (Includes Item 2)2Insert, Console3Switch4WP3369529 Whirlpool Dishwasher Follower5Timer6WP3378124 Whirlpool Dishwasher Cam7WP304231 Whirlpool Dishwasher Screw83374711 Whirlpool Dishwasher Frame9WP3380854 Whirlpool Door Latch Bolt10Lever, Latch11Shield, Switch12Pin, Switch (2)13Harness and Protector143376405 Whirlpool Dishwasher Elbow15WP488234 Whirlpool Air Conditioner Screw16Cover Timer173375348 Whirlpool Dishwasher Timer Knob18Spacer, Corrugated19WP3369769 Whirlpool Dishwasher Panel20Retainer, Panel218528351 Whirlpool Clip24WP3374716 Whirlpool Dishwasher Channel25WP3373234 Whirlpool Dishwasher Bearing