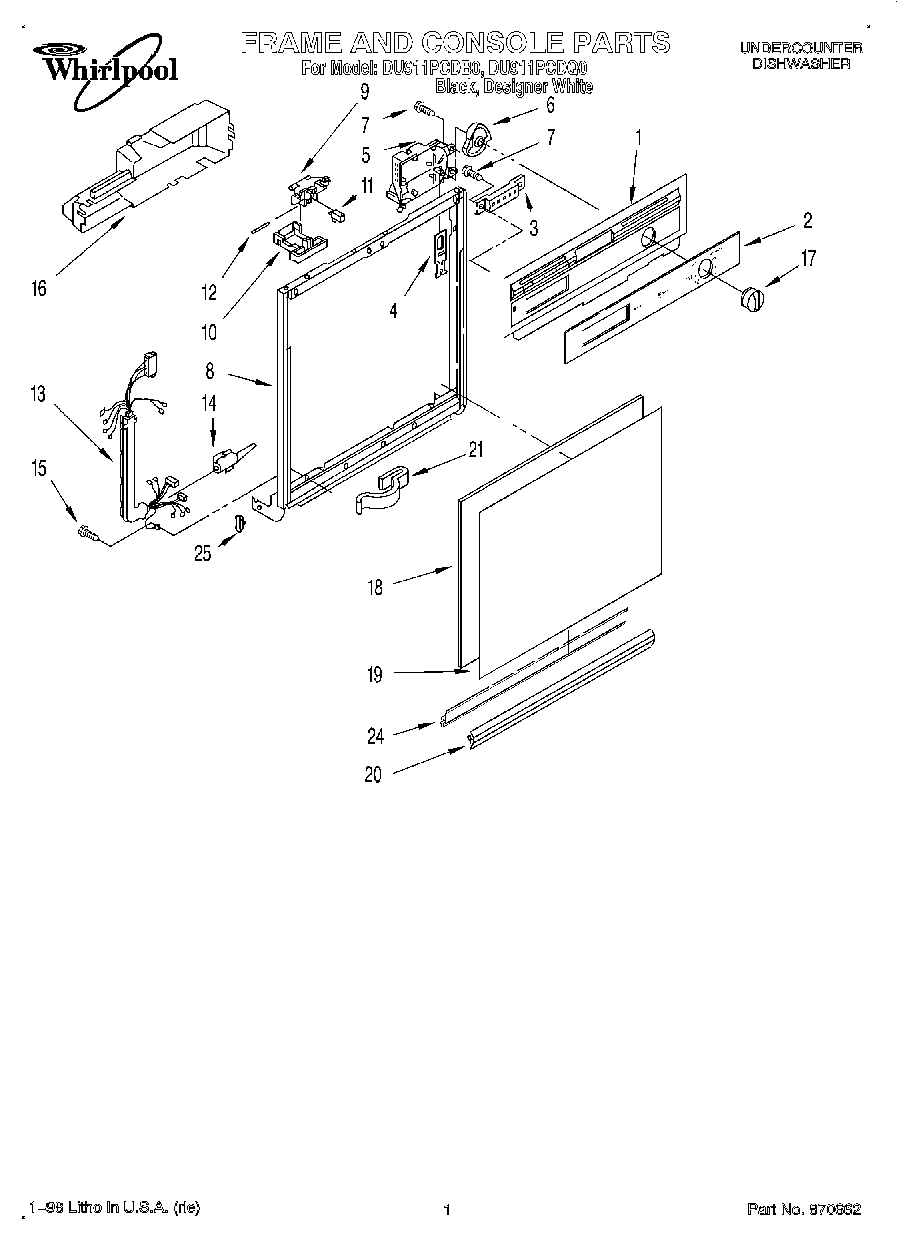
DU911PCDQ0 01 – FRAME AND CONSOLE