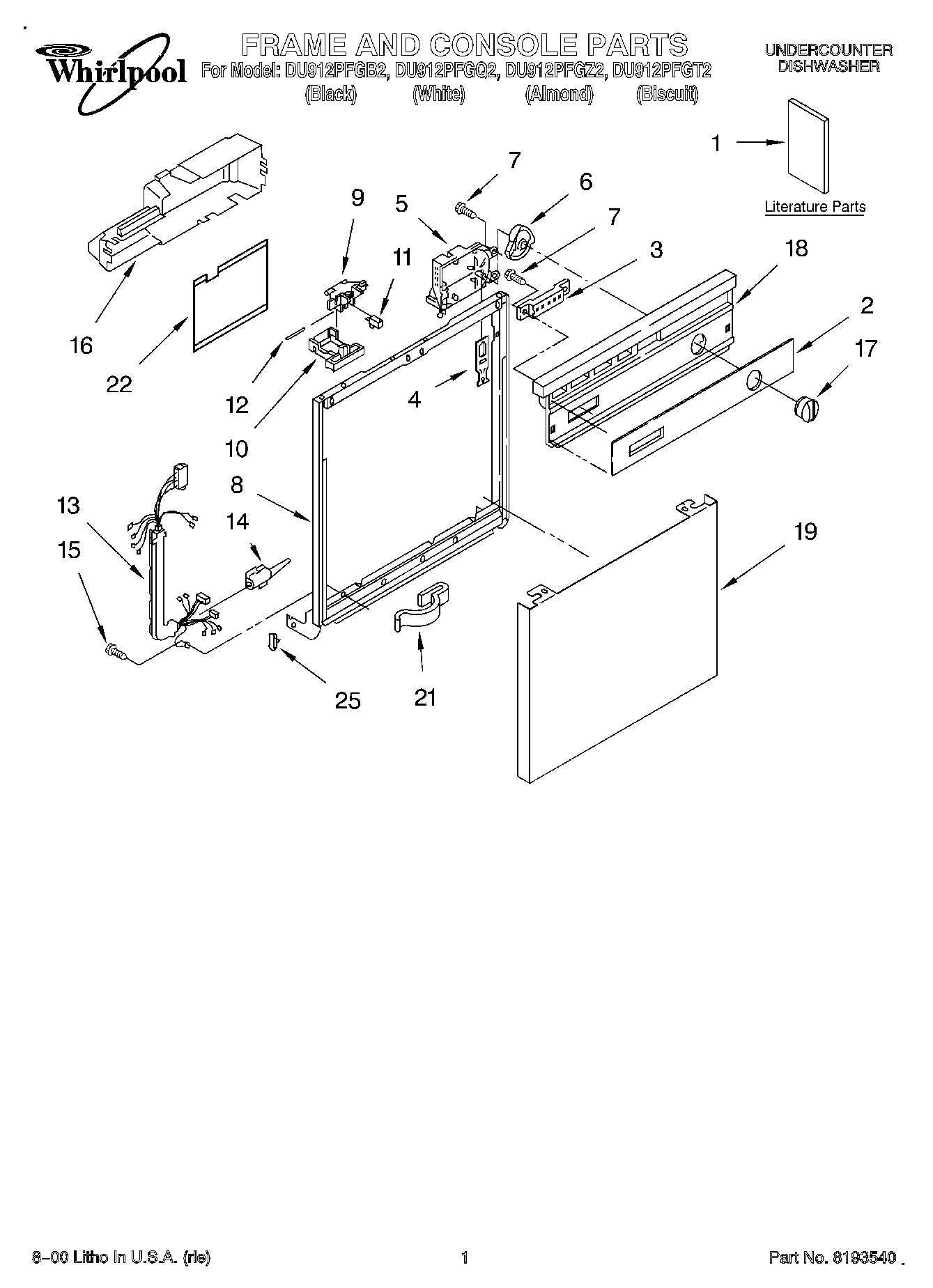
DU912PFGQ2 01 – FRAME & CONSOLE