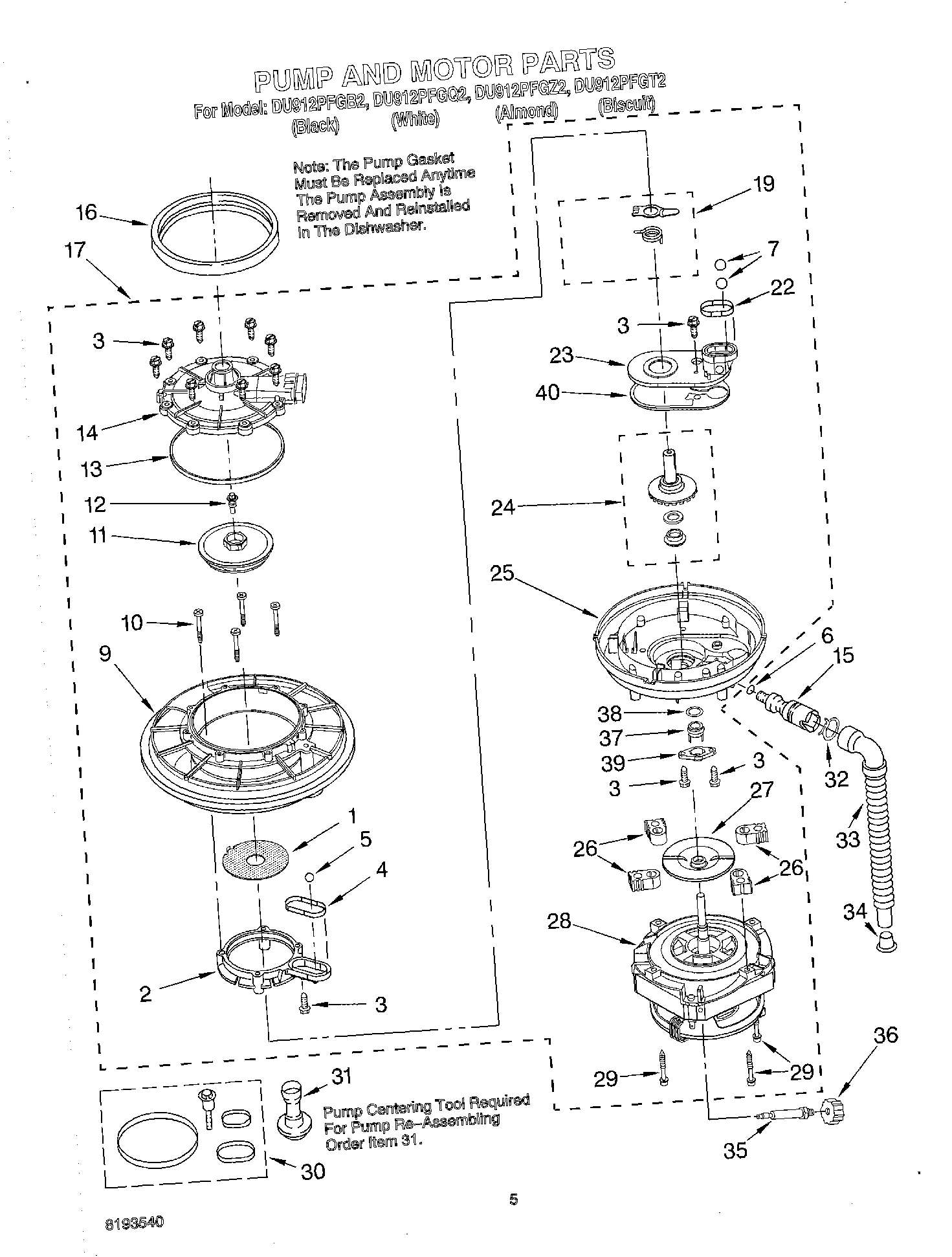
DU912PFGQ2 04 – PUMP AND MOTOR