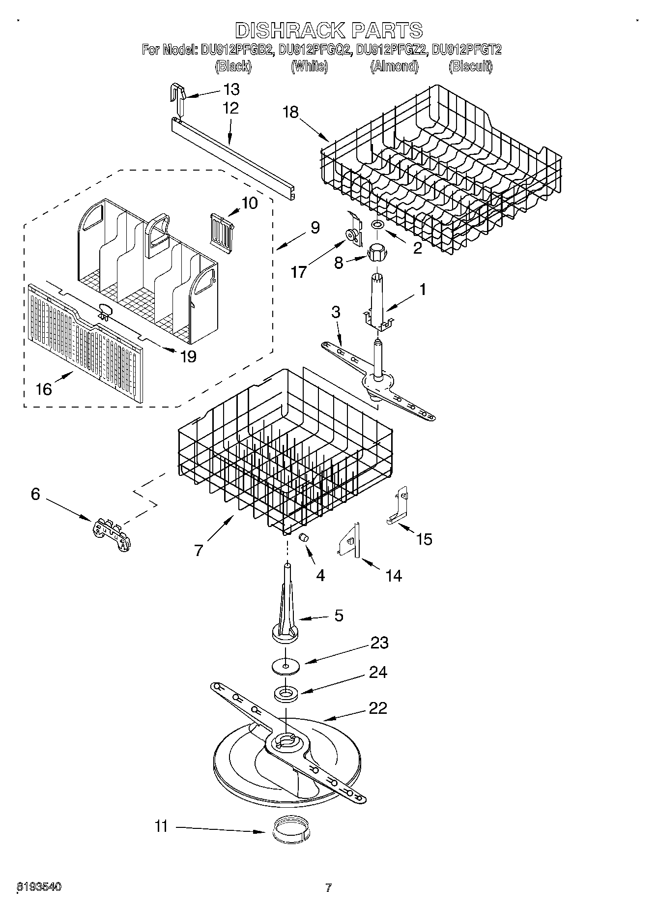
DU912PFGT2 05 – DISHRACK