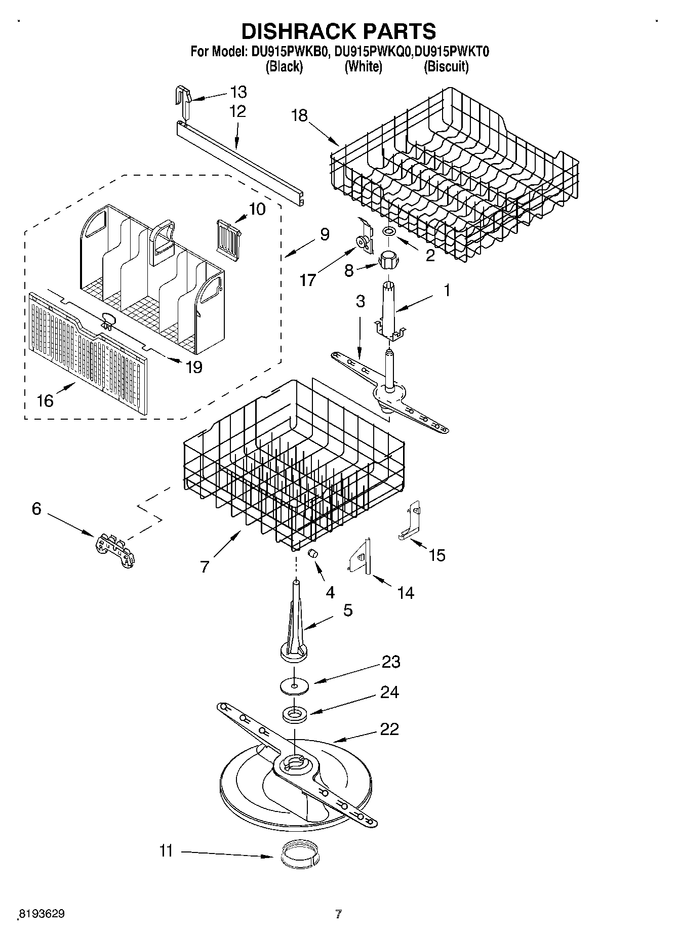
DU915PWKT0 05 – DISHRACK