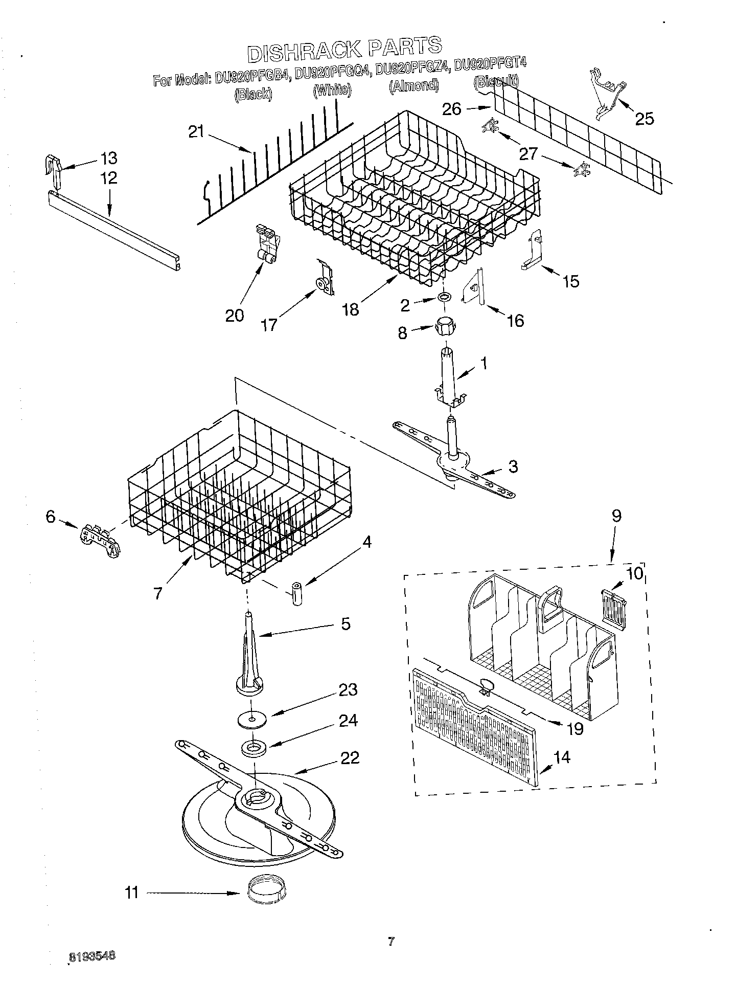
DU920PFGT4 05 – DISHRACK