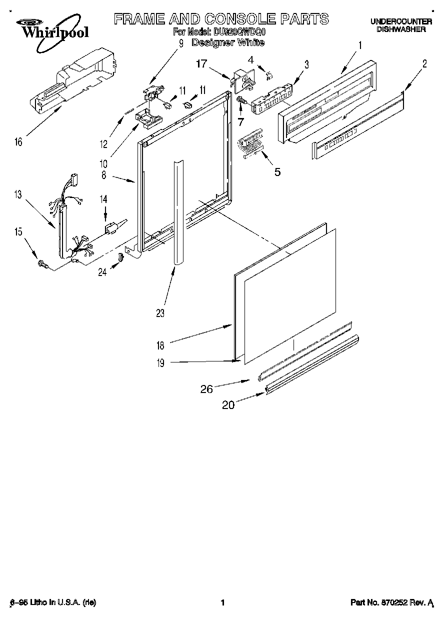
DU920QWDQ0 01 – FRAME AND CONSOLEadmin2025-04-26T11:44:24+00:00DU920QWDQ0 01 – FRAME AND CONSOLE ProductsPositionProduct1Console (Includes Item 2) (White)2Insert, Console (White)3Control, Electronic4675813 Whirlpool Thermal Fuse Kit5Switch, Display7WP304231 Whirlpool Dishwasher Screw83374711 Whirlpool Dishwasher Frame9WP3380854 Whirlpool Door Latch Bolt10Lever, Latch White11Shield, Switch12Pin, Switch (2)13Harness and Protector143376405 Whirlpool Dishwasher Elbow15WP488234 Whirlpool Air Conditioner Screw16Cover Timer17Motor, Dual18Door, Sound Absorber19WP3369769 Whirlpool Dishwasher Panel20Retainer, Panel (White)23Trim (2)24WP3373234 Whirlpool Dishwasher Bearing26WP3374716 Whirlpool Dishwasher Channel