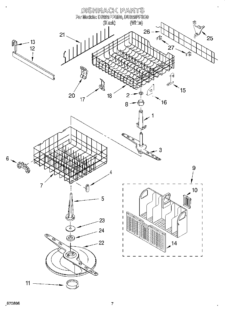
DU929PFGB0 05 – DISHRACK