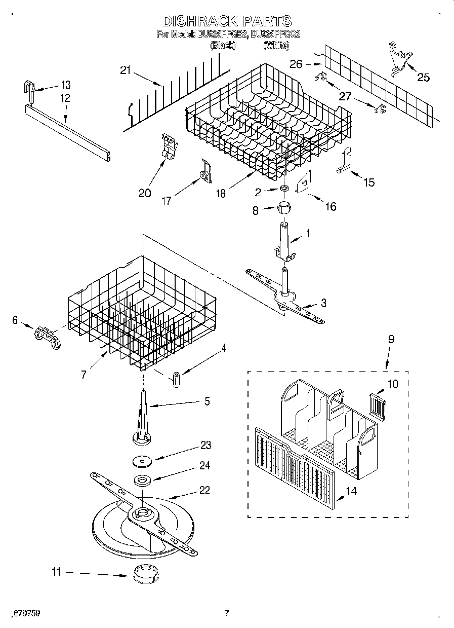
DU929PFGB2 05 – DISHRACK