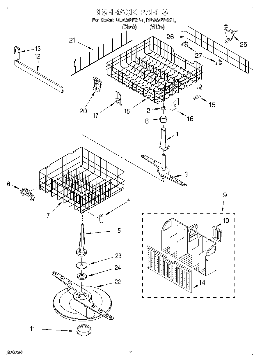
DU929PFGQ1 05 – DISHRACK