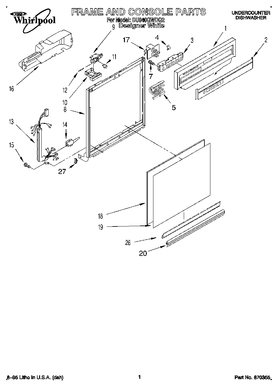
DU940QWDQ2 01 – FRAME AND CONSOLE