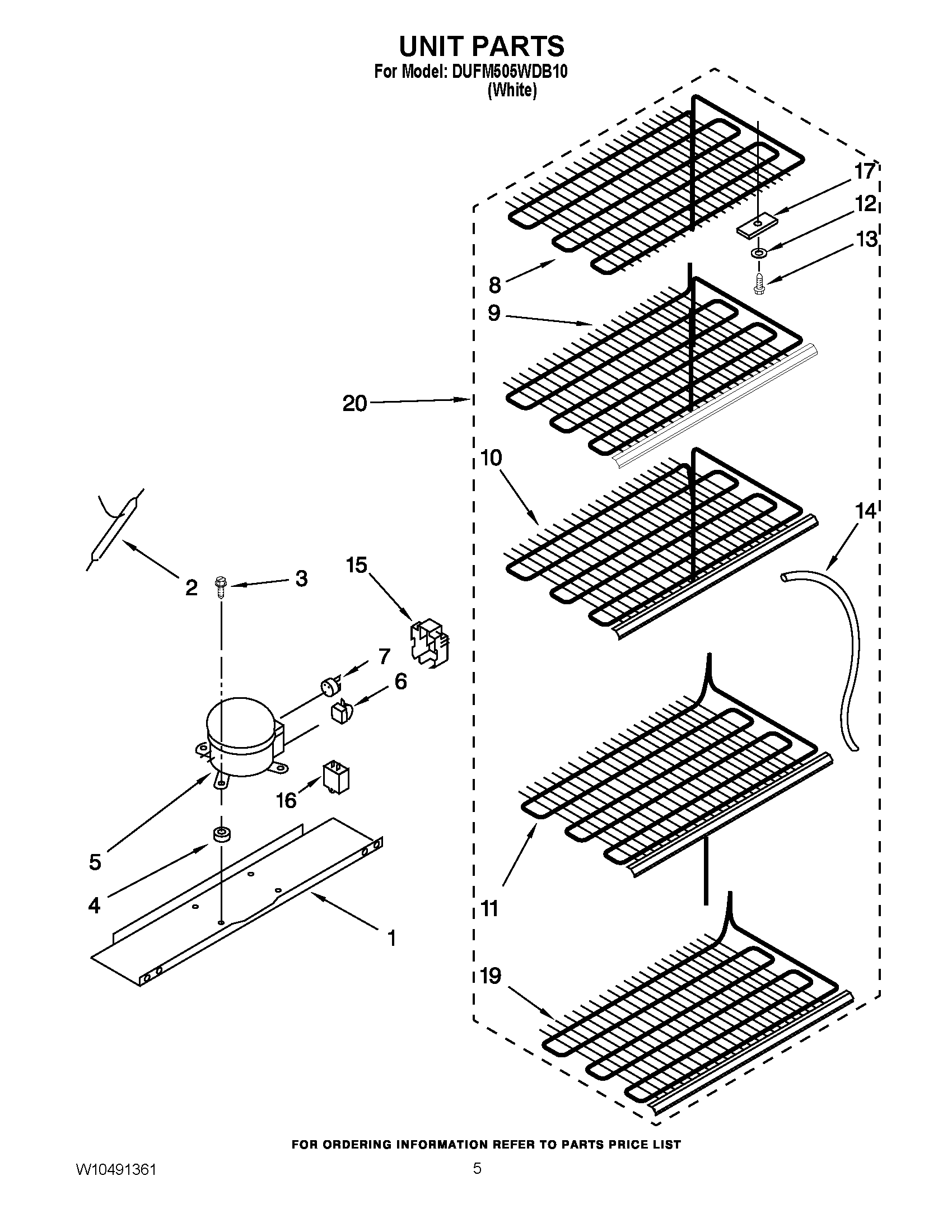
DUFM505WDB10 03 – UNIT PARTS