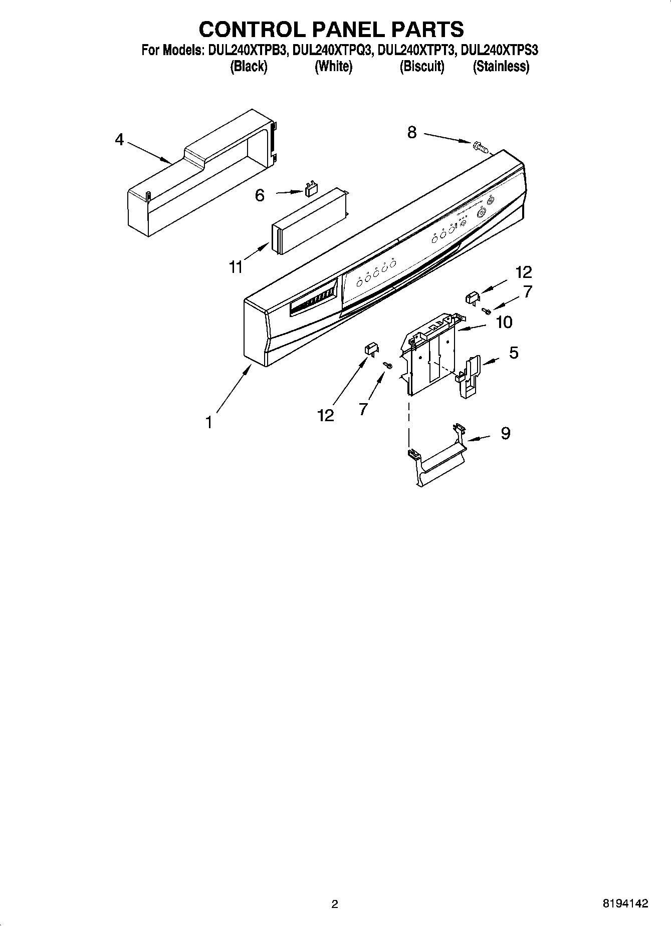
DUL240XTPB3 02 – CONTROL PANEL PARTS