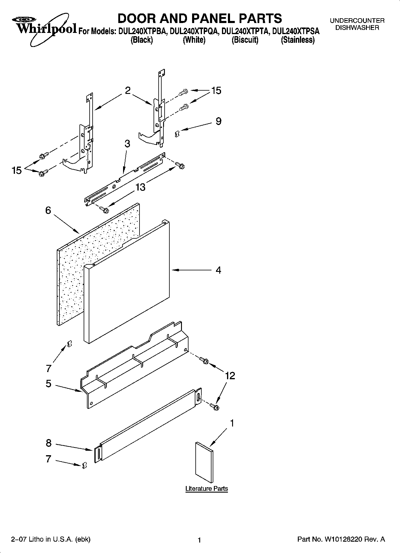
DUL240XTPQA 01 – DOOR AND PANEL PARTSadmin2025-04-26T12:38:06+00:00DUL240XTPQA 01 – DOOR AND PANEL PARTS ProductsPositionProduct1Energy Guide1Guide, Use & Care1Tech Sheet1Instructions, Installation2W11613573 Whirlpool Door Hinge2W11613572 Whirlpool Dishwasher Door Hinge3Stiffener, Door4W10301571 Whirlpool Dishwasher Panel4Panel Front (Includes 7) (White)4W10301577 Whirlpool Outer Door Panel4W10384707 Whirlpool Dishwasher Panel5W10909066 Whirlpool Dishwasher Panel5W10909064 Whirlpool Dishwasher Black Access Panel5W10871198 Whirlpool Dishwasher Panel6WPW10073520 Whirlpool Dishwasher Insulation Pad7WP8269016 Whirlpool Clip Assembly8WP8573287 Whirlpool Dishwasher Toe Panel8Toe Panel (Biscuit)9Clip, Grounding12WP302868 Whirlpool Screw12WPW10503550 Whirlpool Dishwasher Retainer12WPW10503549 Whirlpool Dishwasher Retainer Clip13SCREW15WPW10109200 Whirlpool Screw