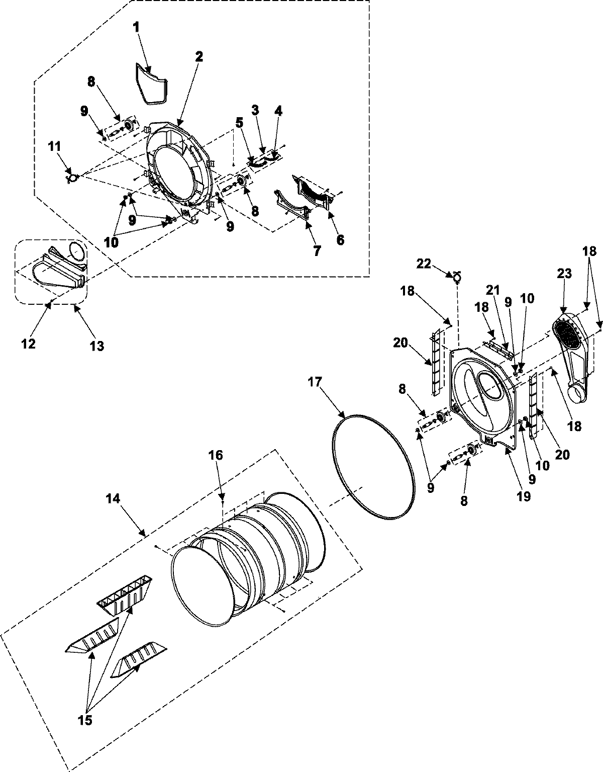
| 1 | MAY DC61-01521A |
| 2 | MAY DC97-10362B |
| 3 | MAY DC97-08889A |
| 4 | MAY DC61-01231A |
| 5 | MAY DC61-01235A |
| 6 | MAY DC63-00675A |
| 7 | MAY DC63-00538A |
| 8 | WPW10177428 Whirlpool Support Roller with Axle |
| 9 | MAY DC60-60060A |
| 10 | MAY DC60-50145A |
| 11 | MAY 6046-000310 |
| 12 | Screw-Tapping (5) |
| 13 | MAY DC97-07526A |
| 14 | MAY DC97-10355A |
| 15 | MAY DC66-00436A |
| 16 | MAY 6002-001204 |
| 17 | MAY 6602-001314 |
| 18 | 6002-000239 Samsung Appliance Tapping Screw TH + No 2S M4 |
| 19 | MAY DC66-00398B |
| 20 | MAY DC61-01238A |
| 21 | MAY DC61-01237A |
| 22 | MAY DC61-40081A |
| 23 | MAY DC97-07521C |