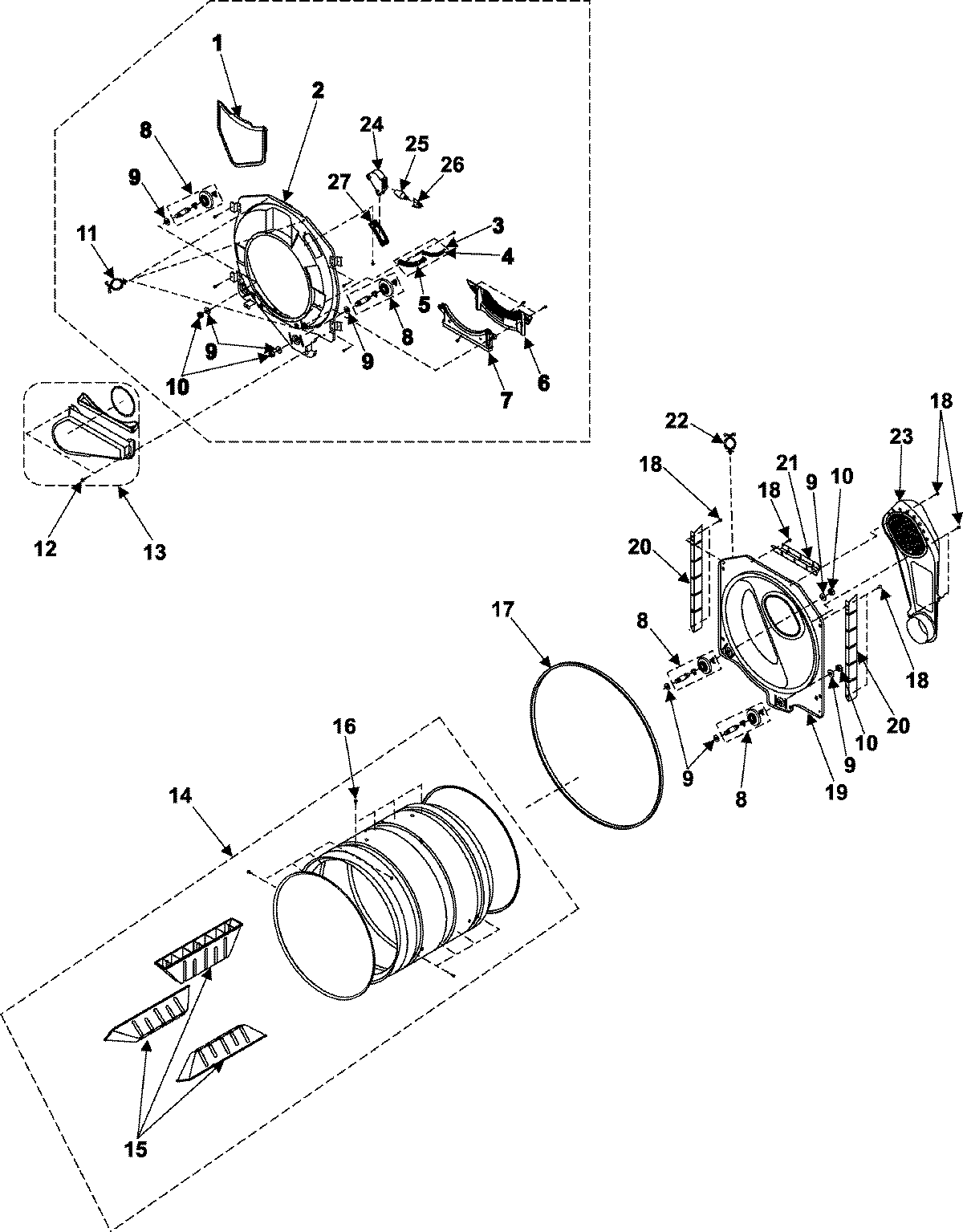
DV316BEC 05 – DRUM