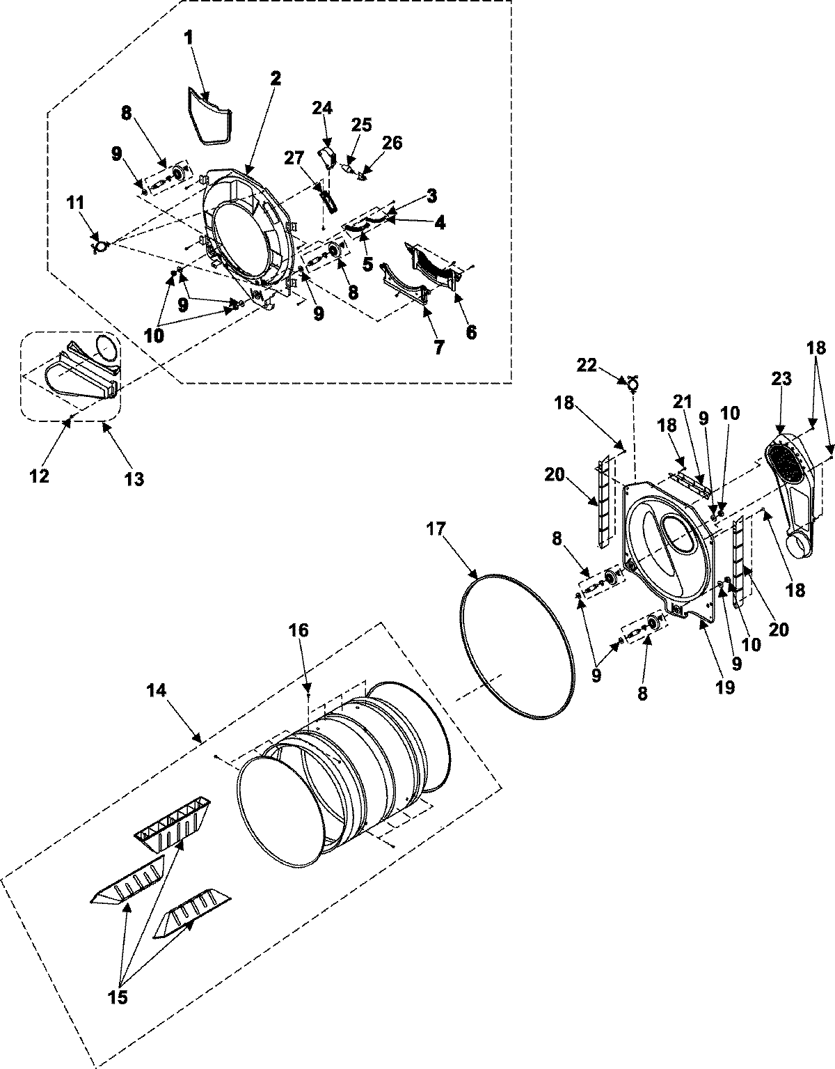
DV316BEW 05 – DRUM