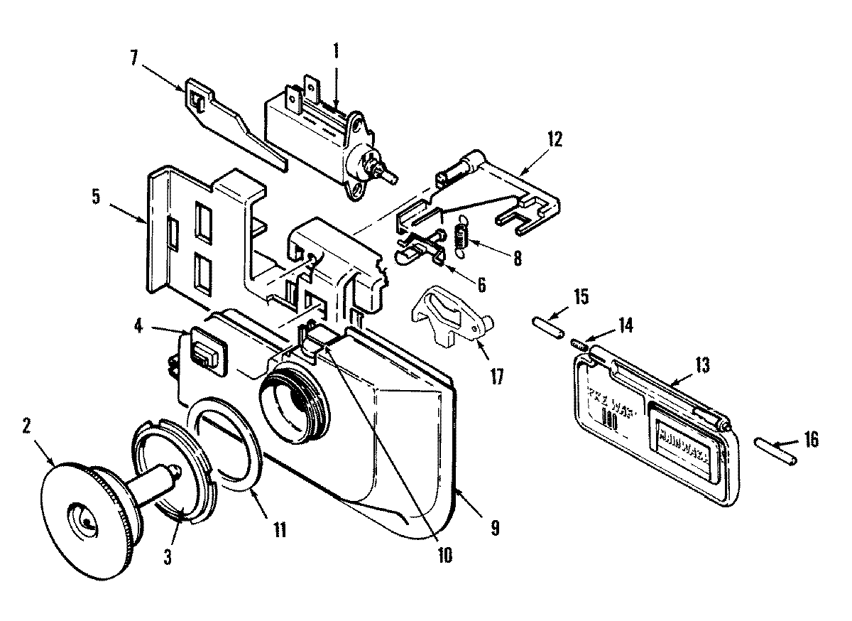
DW700B 05 – SOAP DISPENSERadmin2025-04-26T08:39:37+00:00DW700B 05 – SOAP DISPENSER ProductsPositionProduct1WP902899 Whirlpool Dishwasher Wax Motor2MAY Y9129233MAY Y9130604MAY Y9131915WP99001288 Whirlpool Dishwasher Retainer6WP99001291 Whirlpool Dishwasher Latch7MAY 990012898WPW10116816 Whirlpool Dishwasher Spring9MAY 90365610MAY 90312411MAY Y91306112MAY 9900129013MAY 90348314MAY Y91254715WPY912679 Whirlpool Dishwasher Hinge Pin16WP6-912678 Whirlpool Hinge Pin17MAY 99001287