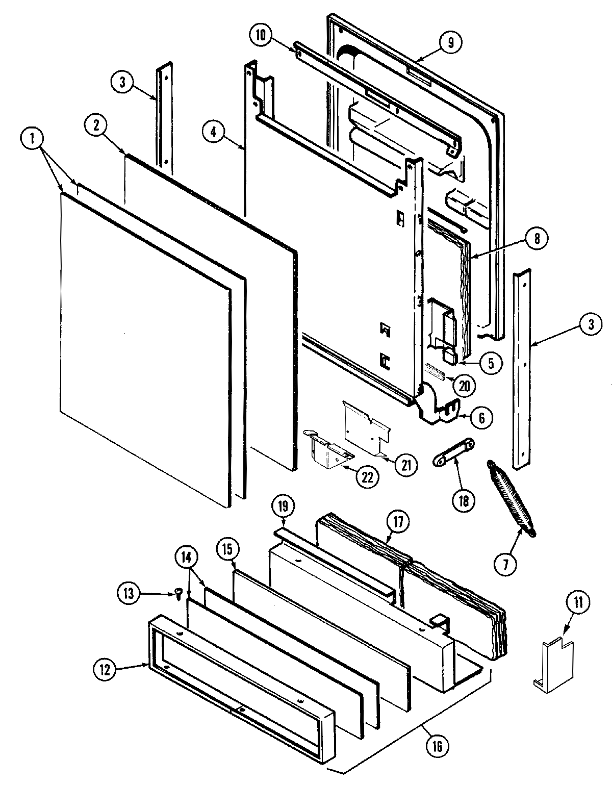
DWC7400AAW 04 – DOOR