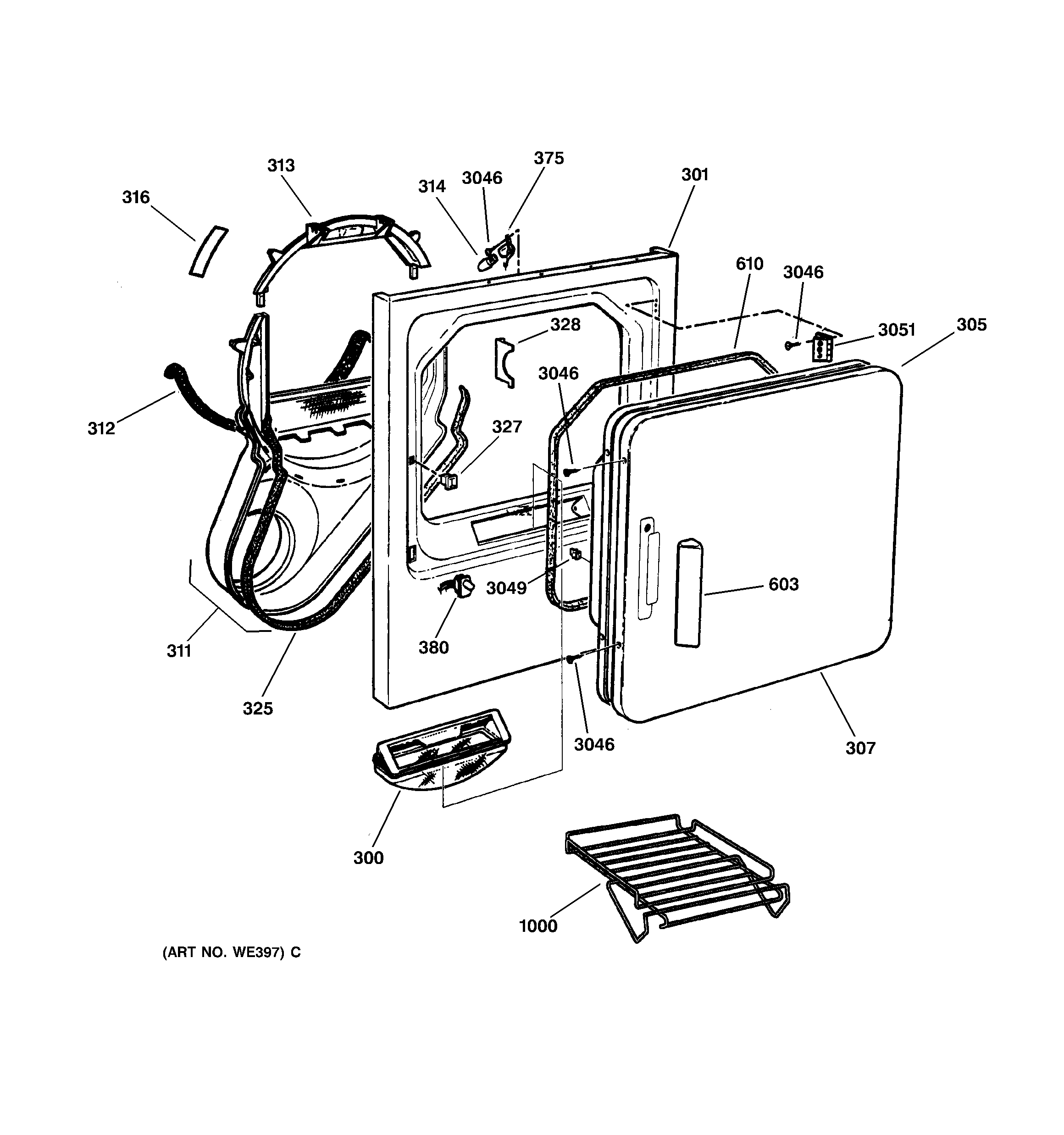
DWSR473EV0AA FRONT PANEL & DOORadmin2025-04-26T10:13:32+00:00DWSR473EV0AA FRONT PANEL & DOOR ProductsPositionProduct300WE18X25100 GE Dryer Lint Screen Filter301GEN WE20M255305WE49X22295 GE Front Panel Assembly307GEN WE10M0103311WE14X25080 GE Dryer Lint Filter Trap Assembly312FELT TRAP DUCT313WE3M26 GE Washer Dryer Front Drum Bearing314WE05X20431 GE Washer Dryer 120V 10W Light Bulb Lamp316GEN WE01M0333316WE03X37317 GE Bearing Drum Slide Green 2Pk325WE1M825 GE Washer 39 Inch Dryer Gasket Seal327WE1M1011 GE Washer Dryer Door Latch328GEN WE1M449375GEN WE05M0005380WE4M415 GE Washer Door Switch603WE01X20580 GE Washer Dryer Door Handle610WE9M13 GE Door Gasket3046WE2M196 GE Screw #83049WE1X1192 GE Dryer Door Strike3051WE1M1033 GE Hinge