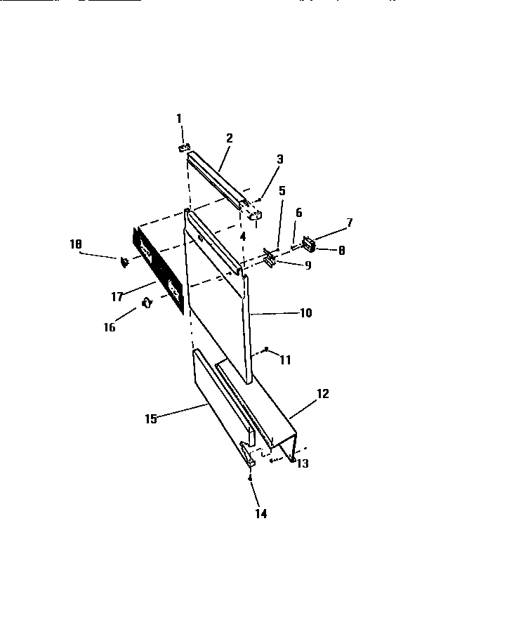
DWU2005T3W 02 – OUTER DOORadmin2025-04-26T08:54:22+00:00DWU2005T3W 02 – OUTER DOOR ProductsPositionProduct1WCI W194C584H012WCI WS4186013WCI WC5005554WCI W194C584H025WCI WC500556WCI WC5005567WCI WS4534018WCI WS9001529WCI WS11740110WCI W2646D52H5010WCI W2646D52H4710WCI W2646D52H4810WCI W2646D52H5110WCI W2646D52H4911216858001 Frigidaire Refrigerator Screw12WCI WS41490414WCI WC50751115WCI WS42380815WCI WS42380715WCI WS42380615WCI WS42380515WCI WS42380216KNOB17WCI WS42830318WCI WS253904