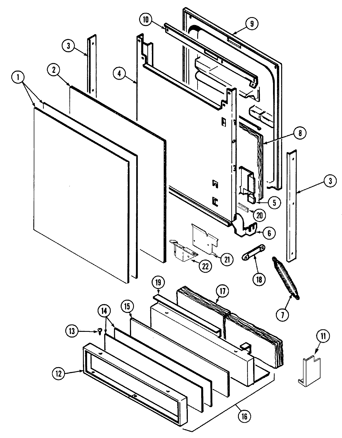
DWU7600AAX 03 – DOOR