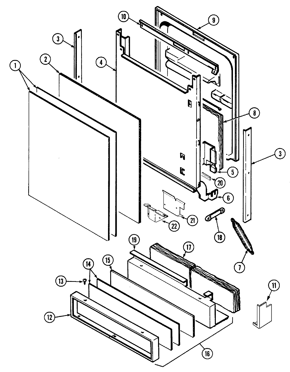
DWU8260AAX 03 – DOOR