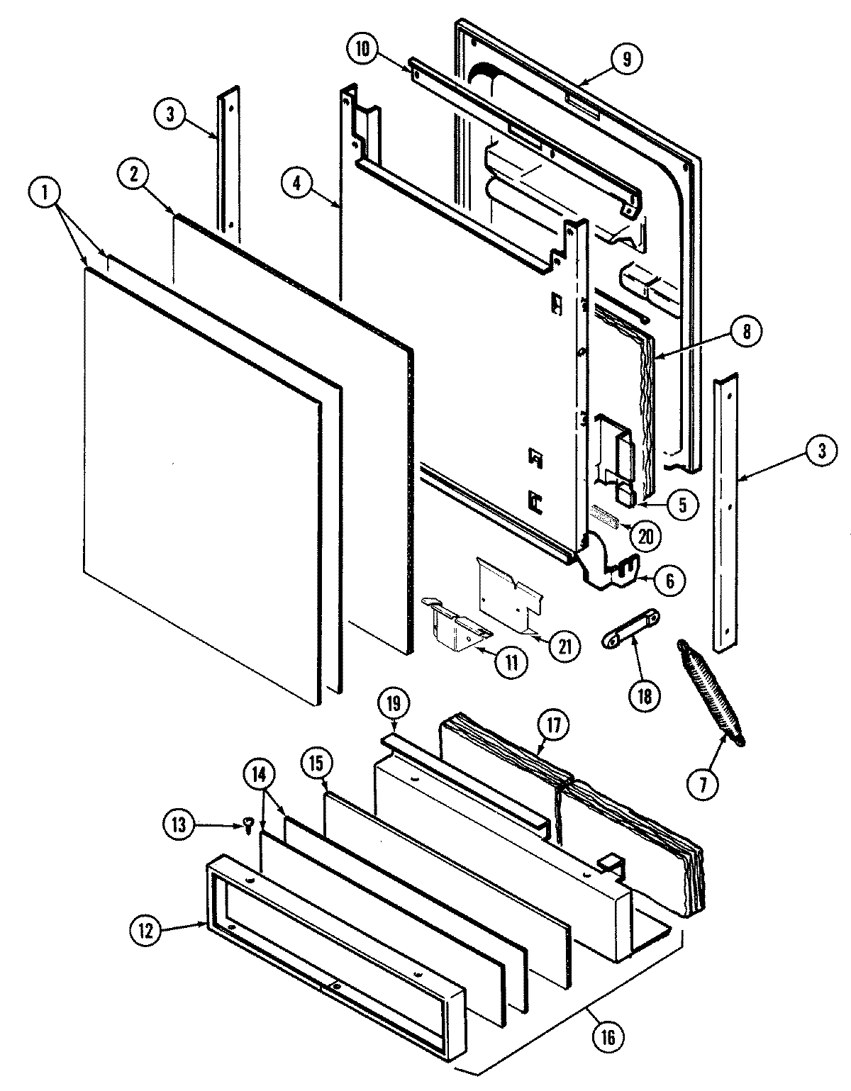
DWU8530BAX 03 – DOOR