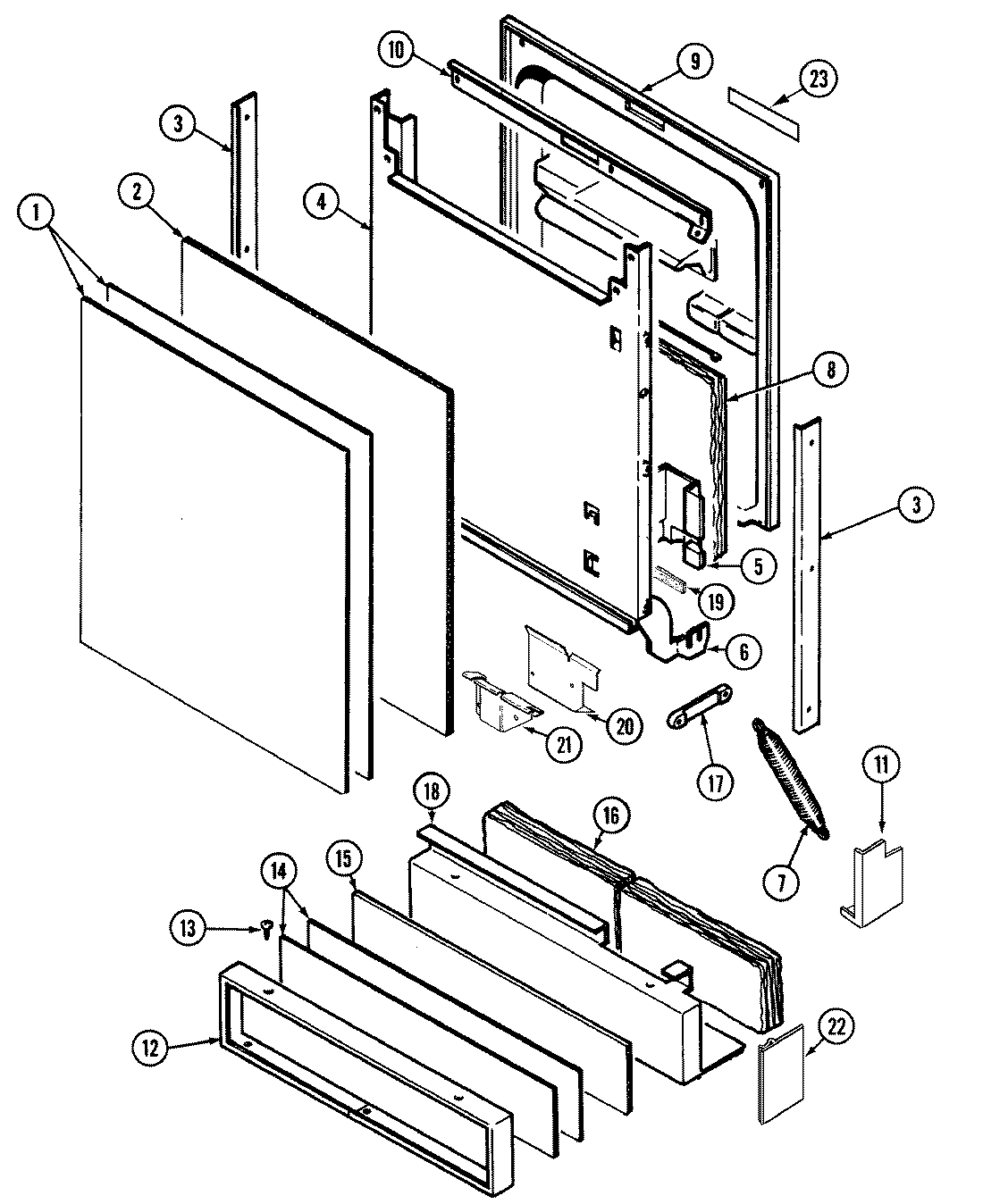
DWU9961AAX 03 – DOOR