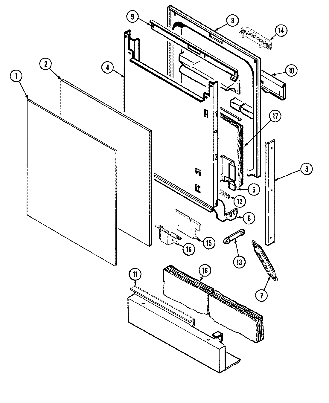
| 1 | MAY Y913223 |
| 2 | MAY Y913184 |
| 3 | MAY 99001350 |
| 3 | MAY Y913157 |
| 4 | MAY Y912936 |
| 4 | MAY 99001361 |
| 5 | MAY Y912666 |
| 5 | SCREW, No.8X1/2 HEX WASHER HEAD |
| 6 | MAY 903070 |
| 6 | MAY 903071 |
| 6 | MAY 99001075 |
| 7 | WP912652 Whirlpool Dishwasher Spring |
| 8 | MAY Y912918 |
| 9 | MAY Y913093 |
| 9 | MAY Y913178 |
| 10 | MAY 903483 |
| 11 | MAY 99001412 |
| 12 | WPW10117748 Whirlpool Dishwasher Insulation Pad |
| 13 | WP912653 Whirlpool Dishwasher Door Spring Link |
| 14 | MAY Y912910 |
| 14 | WPY912620 Whirlpool Dishwasher Screw |
| 15 | MAY 99001414 |
| 15 | WP6-912366 Whirlpool Dishwasher Screw |
| 16 | MAY 99001444 |
| 16 | MAY 912365 |
| 17 | MAY 99001718 |
| 18 | MAY Y912836 |