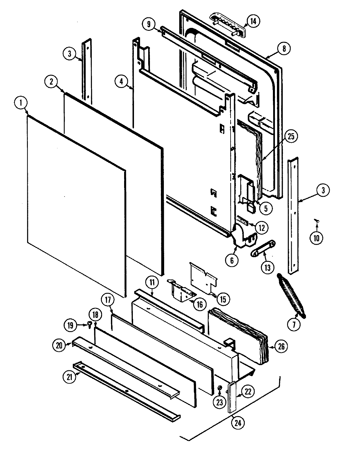
DWUA500AAE 02 – DOOR