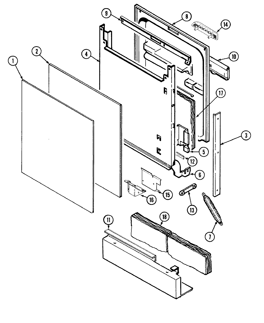
DWUA651AAB 02 – DOOR