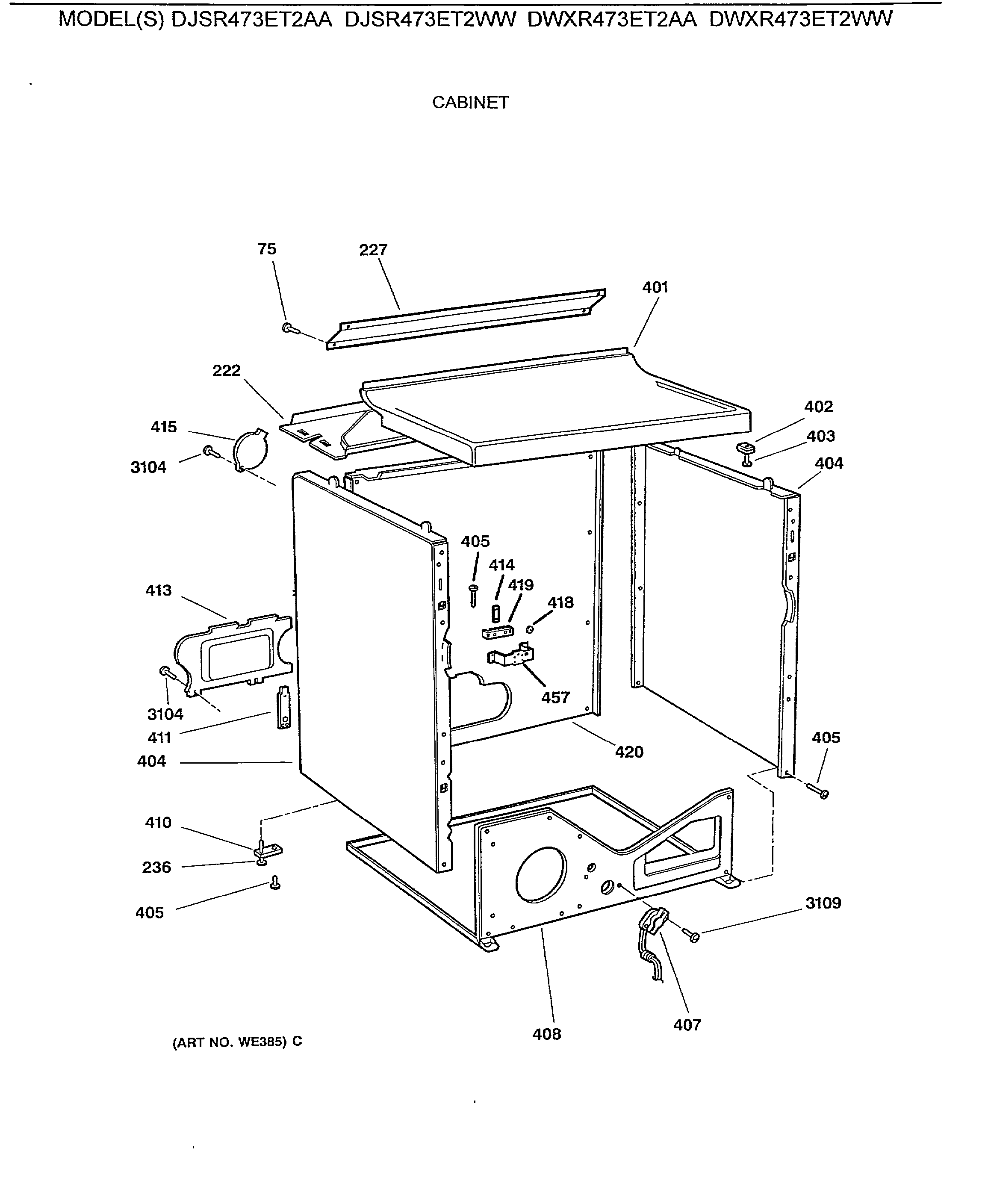
| 75 | WE2M173 GE Screw |
| 222 | GEN WE20M0253 |
| 227 | GEN WE13M0026 |
| 236 | WE1M642 GE Washer Leveling Leg |
| 401 | GEN WE20M0287 |
| 402 | GEN WE02M0162 |
| 403 | WE2M160 GE Screw |
| 404 | GEN WE20M0261 |
| 405 | WR2X9260 GE Refrigerator Screw |
| 407 | WE4M127 GE Thermostat |
| 408 | GEN WE20M0262 |
| 410 | GEN WE01M0378 |
| 410 | WE1M468 GE Leveling Screw Bracket |
| 411 | GEN WE01M0341 |
| 413 | GEN WE01M0366 |
| 414 | GEN WE01X0339 |
| 415 | GEN WE01M0365 |
| 418 | GEN WZ07X0031 |
| 419 | GEN WE04X0168 |
| 420 | GEN WE20M0259 |
| 457 | GEN WE01M0340 |
| 3104 | WE1M280 GE Screw |
| 3109 | WD02X10057 GE Dishwasher Screw 10-16 x 1 |