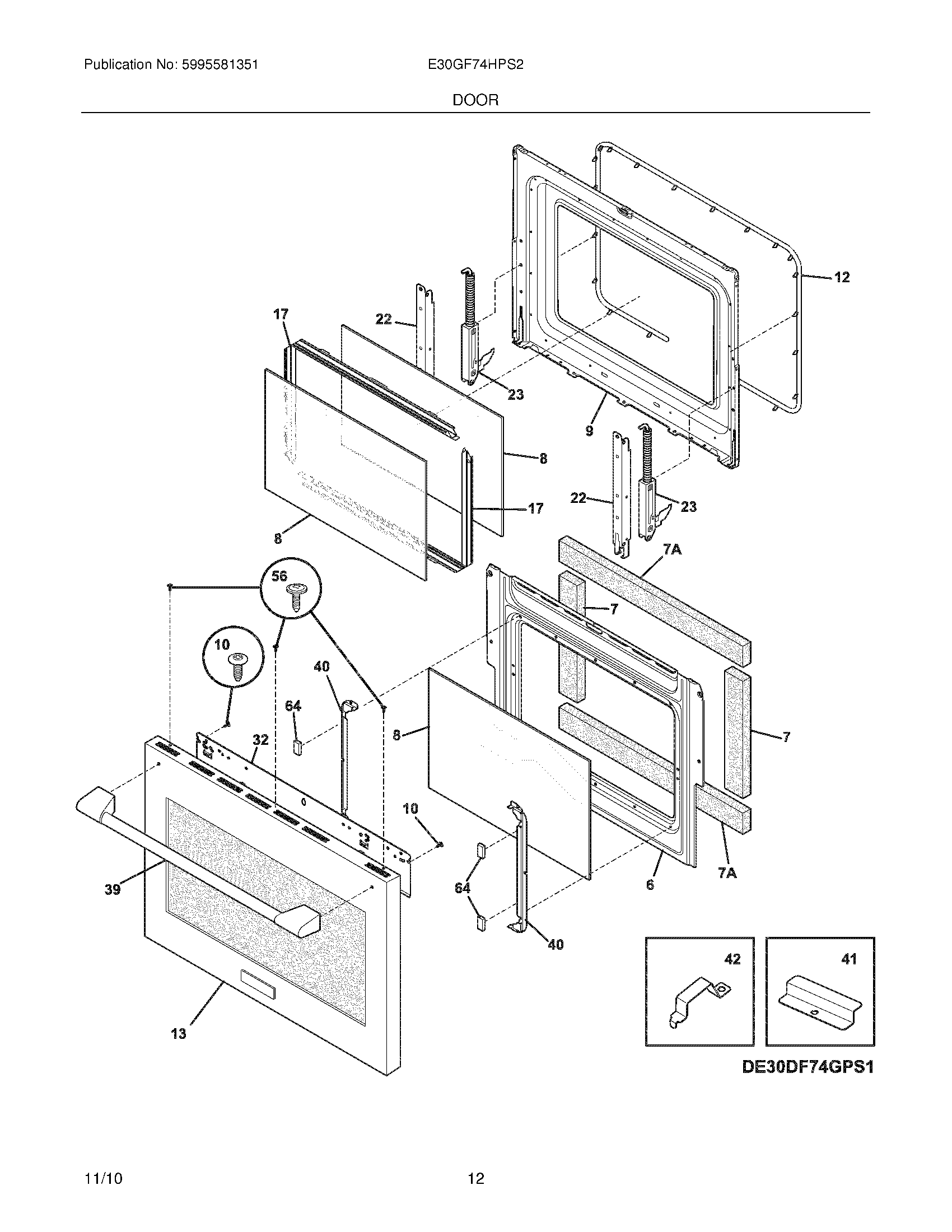
E30GF74HPS2 11 – DOOR