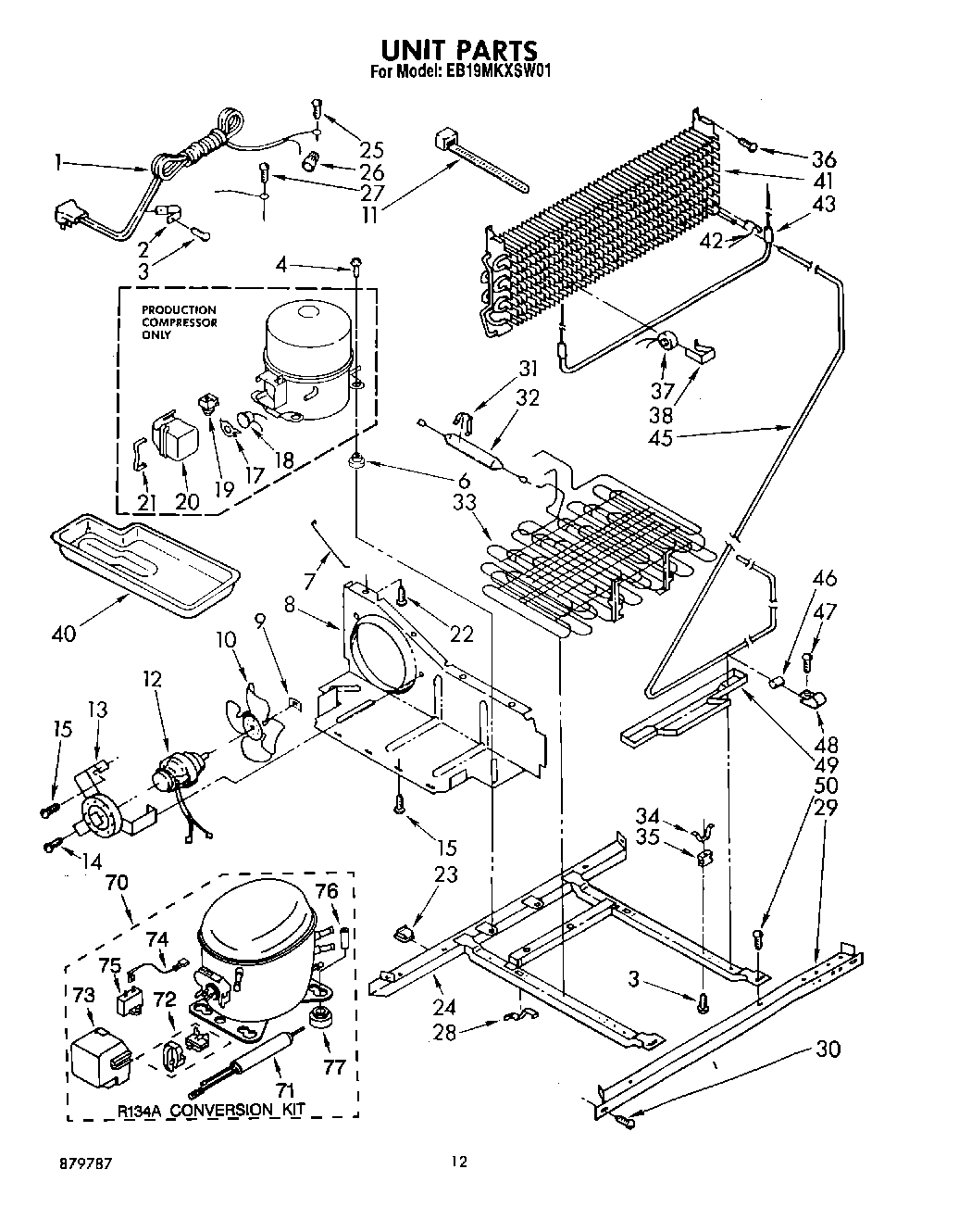
EB19MKXSW01 07 – UNIT

EB19MKXSW01 07 – UNIT

Products

PositionProduct
1Cord, Service
2549193 Whirlpool Refrigerator Power Clamp
3W11624204 Whirlpool Screw
6876811 Whirlpool Grommet
7Guard, Fan
8Baffle
9WP486692 Whirlpool Refrigerator Nut
10Fan, Blade
11Strap
12833697 Whirlpool Condenser Fan Motor
13Bracket, Motor
14681390 Whirlpool Refrigerator Screw
15Screw, 8 x 3/8
17Overload Spring
18Overload
19Relay
20Case, Relay
21Spring, Case
22Screw, 8-32 x 1/2
23Clip, Wire (2)
24Frame
25Screw, 8-32 x 3/8
26Wire Connector
27303776 Whirlpool Dishwasher Screw
28Clip (2)
29Rail, Front
30489340 Whirlpool Refrigerator Screw
31Clamp
33Condenser & Precooler
34Clamp (4)
35Grommet (4)
36W11693756 Whirlpool Screw Assembly
37WP4387489 Whirlpool Refrigerator Bi-Metal Defrost Thermostat
38Clamp
40WPL 842041
41Evaporator
42Clip, Heater (2)
43Heater, Defrost
45Exchanger, Heat
46Dampener (2)
47WPW10141625 Whirlpool Refrigerator Screw Assembly
48Clamp Tube
49Pan, Drip
50Screw, 1/4-28 x 1/2 (2)
70Compressor (Includes Items 71, 72, 73, 74, 75, 76, & 77) (Also Order
70876765 Whirlpool Primary Mounting Kit Refrigerator
71W10843121 Whirlpool Refrigerator Tube
72OVERLOAD
73WP2162358 Whirlpool Refrigerator Terminal Cover
74WP2172890 Whirlpool Refrigerator Wire
75WP4387764 Whirlpool Run Capacitor
76Sleeve (4) (Service Only)
77876764 Whirlpool Refrigerator Primary Valve
77WP4387558 Whirlpool Refrigerator Compressor Grommet
77VALVE, ACCESS (5/8``)
77VALVE, ACCESS (1/2``)
77WP978025 Whirlpool Refrigerator Valve
77978030 Whirlpool Refrigerator Valve
77978027 Whirlpool Refrigerator Primary Valve
77978026 Whirlpool Refrigerator Primary Valve