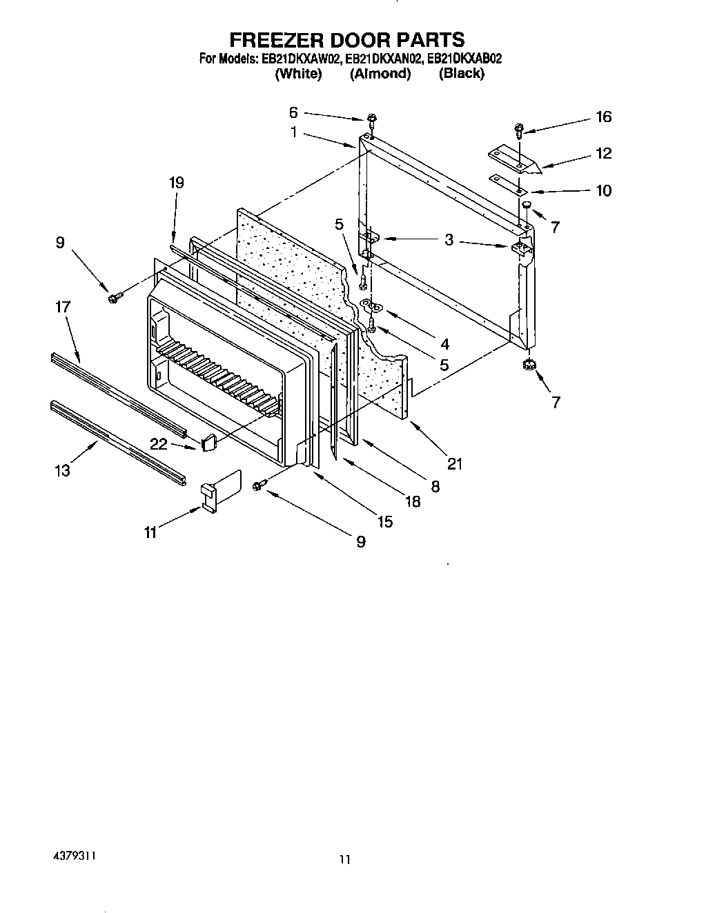
EB21DKXAB02 07 – FREEZER DOOR