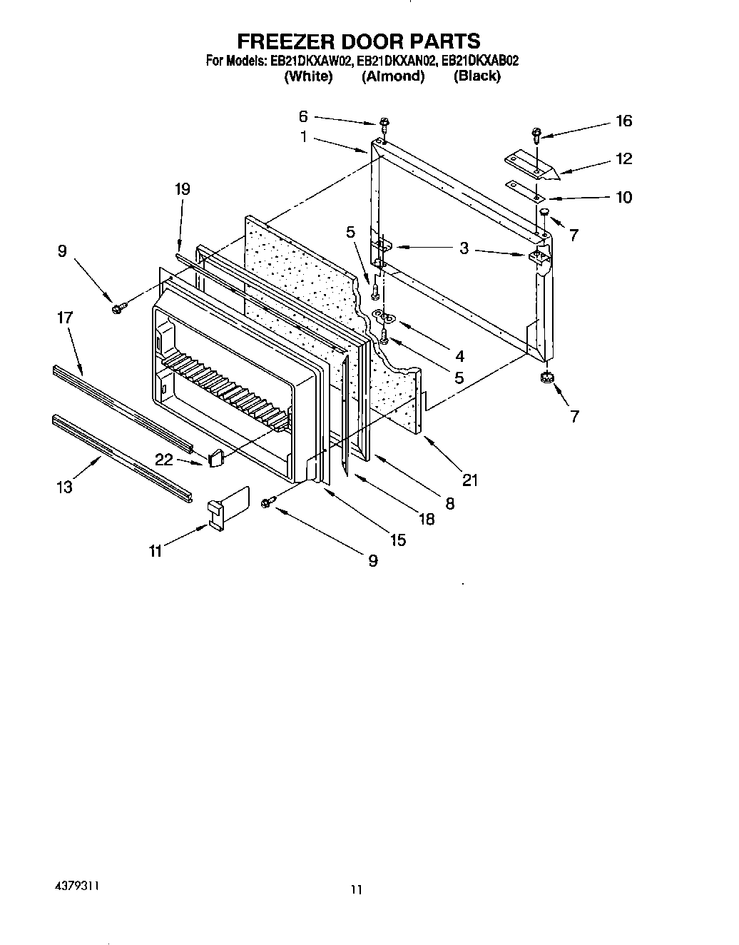
EB21DKXAN02 07 – FREEZER DOORadmin2025-04-26T12:40:29+00:00EB21DKXAN02 07 – FREEZER DOOR ProductsPositionProduct1Panel, Freezer Door (Also Order Item 21) (Almond)1Panel, Freezer Door (Also Order Item 21) (White)1Panel, Freezer Door (Also Order Item 21) (Black)3Plate, Tap (4)4Bracket, Door Stop5WP488921 Whirlpool Refrigerator Screw6WP8281206 Whirlpool Refrigerator Screw7WP2212648 Whirlpool Refrigerator Hinge Sleeve Hole Plug7Hole Plug (Almond)7WP2212651 Whirlpool Refrigerator Button Plug8Door Gasket (Mist Beige)8Door Gasket (White Model)9WP489069 Whirlpool Compactor Screw9WP488729 Whirlpool Refrigerator Door Screw10WPL 98971111Divider-Door12WPL 65707713Trim, Door Shelf15Interior Door Panel16WPL 48893517Trim, Door18WPL 98601519Gasket Retainer, Top & Bottom21WPL 876029224386917 Whirlpool Endcap Kit